| # | Part | Description | Price | Req | Notes | Availability |
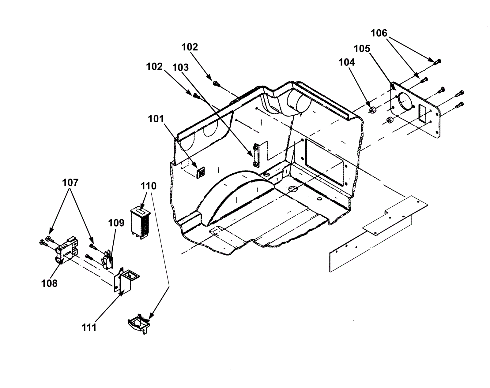
101 |
192-0008
|
Self-adhesive plate (OBSOLETE) |
$0.61
|
8 |
|
usually ships 19-25 days |
102a |
192-0160
|
Screw M5 x 10mm raised head |
$3.66
|
2 |
Series 06 |
usually ships 19-25 days |
102b |
192-8301
|
Screw M5 x 10 raised cheese head |
$0.92
|
2 |
Series 04 |
usually ships 1-5 days |
103 |
192-1263
|
Plate (OBSOLETE) |
$17.57
|
2 |
|
usually ships 1-5 days |
104 |
192-1264
|
Bushing (OBSOLETE) |
$5.97
|
2 |
|
usually ships 1-5 days |
105 |
192-1265
|
Plate (OBSOLETE) |
$22.25
|
1 |
|
usually ships 1-5 days |
106a |
192-0912
|
Screw M4 x 16mm raised head |
$2.56
|
8 |
Series 06 |
ships same day |
106b |
192-1105
|
Screw M4 x 20mm socket head |
$2.56
|
2 |
Series 04 |
usually ships 1-5 days |
107 |
192-0294
|
Screw M3 x 20 raised cheese head |
$2.56
|
4 |
|
usually ships 19-25 days |
108a |
192-1266
|
50amp charger plug SB50 |
$5.47
|
1 |
|
ships same day |
108b |
192-1267
|
50amp charger plug pin |
$6.61
|
2 |
|
usually ships 19-25 days |
109 |
192-1268
|
Microswitch (OBSOLETE) |
$21.12
|
1 |
|
usually ships 19-25 days |
110 |
192-0033
|
24V hour meter |
$85.98
|
1 |
|
ships same day |
111 |
192-1269
|
Holder (OBSOLETE) |
$64.65
|
1 |
|
usually ships 1-5 days |