| # | Part | Description | Price | Req | Notes | Availability |
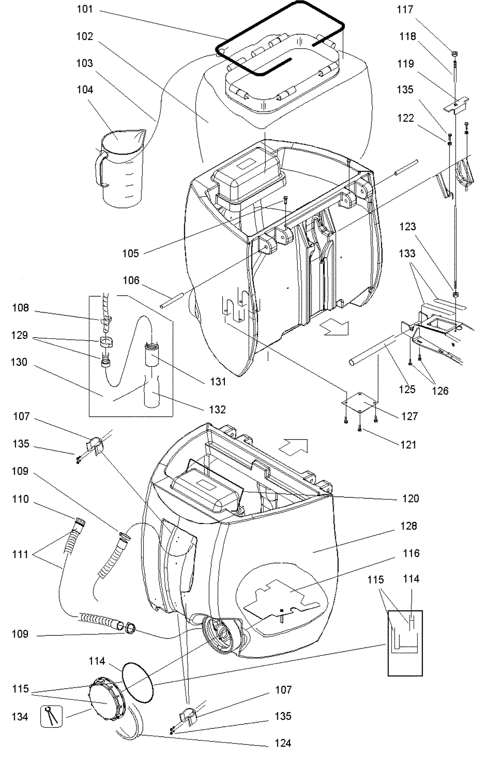
101 |
192-0974
|
Bladder bag frame |
$95.72
|
1 |
|
usually ships 19-25 days |
102 |
192-0975
|
Bladder bag |
$527.87
|
1 |
|
ships same day |
103 |
192-0714
|
Cord (sold by the inch) |
$2.56
|
20 in |
|
ships same day |
104 |
192-0976
|
Measuring cup |
$25.39
|
1 |
|
usually ships 19-25 days |
105 |
192-0958
|
Screw 50 x 16 for plastic |
$6.23
|
2 |
|
ships same day |
106 |
192-0977
|
Hinge bolt |
$11.79
|
2 |
|
usually ships 19-25 days |
107 |
192-0099
|
Hose holder |
$1.79
|
3 |
|
ships same day |
108 |
192-0978
|
Hose clamp |
$3.72
|
1 |
|
ships same day |
109 |
192-0130
|
Hose clamp |
$2.56
|
2 |
|
ships same day |
110 |
192-0237
|
Threaded cap (red) |
$2.56
|
1 |
(recovery) |
ships same day |
111 |
192-0979
|
Hose |
$28.53
|
1 |
(recovery drain) |
ships same day |
114 |
192-0981
|
Packing ring |
$18.72
|
1 |
|
usually ships 19-25 days |
115 |
192-0982
|
Cover with packing ring |
$211.79
|
1 |
|
usually ships 19-25 days |
116 |
192-0983
|
Inlet filter assembly |
$140.51
|
1 |
|
ships same day |
117 |
192-0510
|
Nut M8 self locking |
$2.56
|
1 |
|
ships same day |
118 |
192-0984
|
Threaded rod |
$24.62
|
1 |
|
usually ships 1-5 days |
119 |
192-0985
|
Bracket |
$4.95
|
1 |
|
usually ships 19-25 days |
120 |
192-6901
|
Supporting bow |
$16.49
|
1 |
|
ships same day |
121 |
192-0968
|
Screw KA 60 x 16 |
$4.62
|
8 |
|
ships same day |
122 |
192-0897
|
Washer |
$4.57
|
2 |
|
usually ships 19-25 days |
123 |
192-0347
|
Nut M8 hex |
$0.89
|
2 |
|
ships same day |
124 |
192-4364
|
Hose clamp |
$38.47
|
1 |
|
usually ships 1-5 days |
125 |
192-0987
|
Axle |
$85.34
|
1 |
|
usually ships 1-5 days |
126 |
192-0278
|
Screw M8 x 25mm socket head |
$0.89
|
2 |
|
ships same day |
127 |
192-0988
|
Plate |
$2.70
|
2 |
|
usually ships 1-5 days |
128 |
192-0989
|
Tank |
$1,122.81
|
1 |
|
usually ships 19-25 days |
129 |
192-0990
|
Screwing socket |
$23.33
|
1 |
|
usually ships 19-25 days |
130 |
192-0991
|
O-ring |
$2.56
|
1 |
|
ships same day |
131 |
192-0992
|
Filter cage |
$7.57
|
1 |
|
usually ships 19-25 days |
132 |
192-0993
|
4 inch filter bag |
$20.59
|
1 |
|
ships same day |
133 |
192-0994
|
Self-adhesive strip |
$9.36
|
2 |
|
usually ships 1-5 days |
134 |
192-0995
|
Tank key |
$50.97
|
1 |
|
usually ships 19-25 days |
135 |
192-1571
|
Screw M50 x 16mm |
$2.56
|
8 |
|
ships same day |