| # | Part | Description | Price | Req | Notes | Availability |
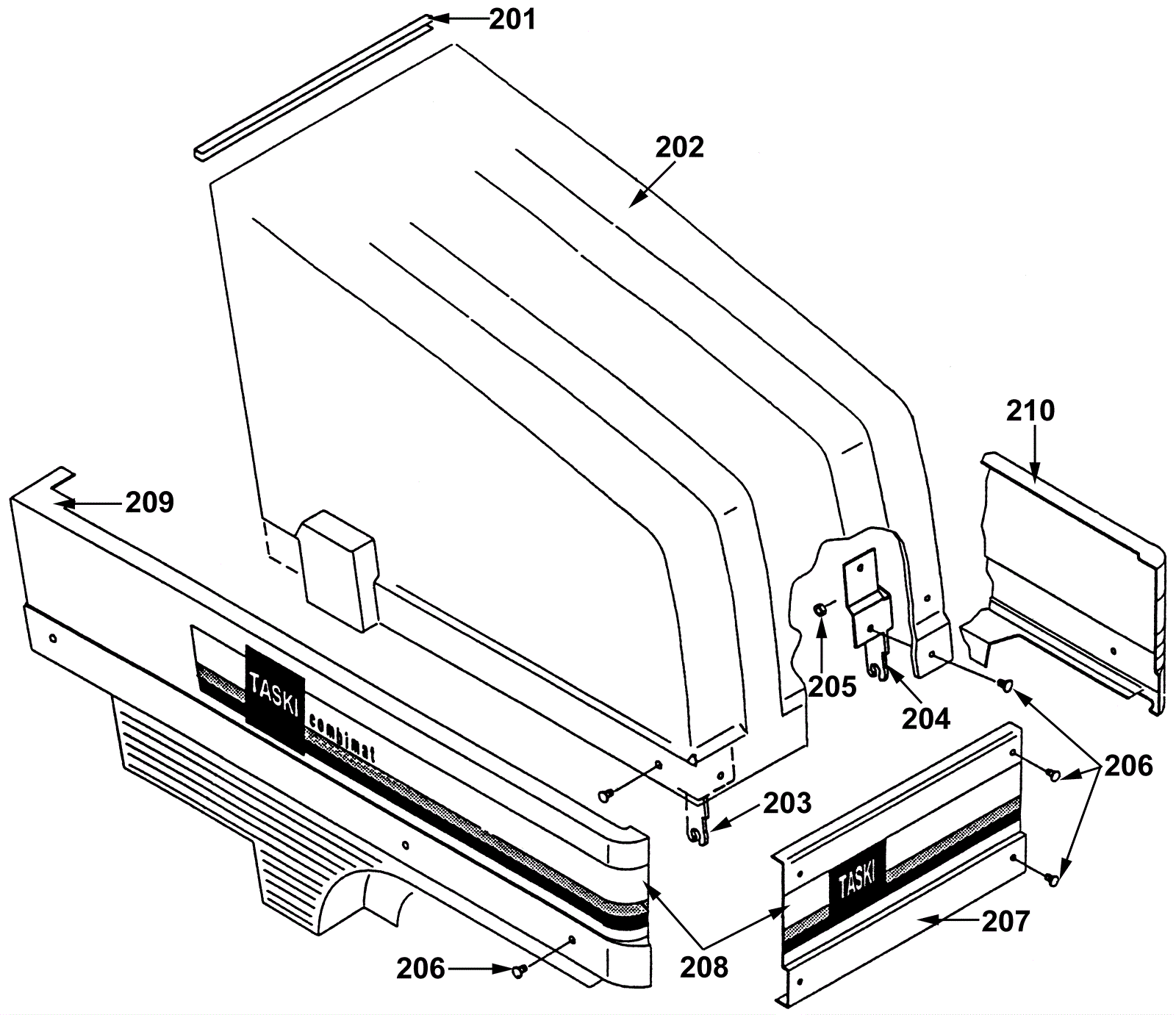
201 |
192-2351
|
Bumper (sold by the inch) |
$7.51
|
16 in |
|
usually ships 19-25 days |
202a |
192-0345
|
Hood |
$455.21
|
1 |
|
ships same day |
202b |
192-0359
|
Hood |
$705.16
|
1 |
|
usually ships 19-25 days |
203a |
192-0307
|
Straight right hand bracket (1500, 1700, 1900) |
$181.32
|
1 |
|
usually ships 19-25 days |
203b |
192-0360
|
Bent right hand bracket (1400, 1600, 1800) |
$143.90
|
1 |
|
usually ships 19-25 days |
204a |
192-0346
|
Straight left hand bracket (1500, 1700, 1900) (OBSOLETE) |
$181.32
|
1 |
|
usually ships 19-25 days |
204b |
192-2224
|
Bent left hand bracket (1400, 1600, 1800) |
$59.69
|
1 |
|
usually ships 19-25 days |
205 |
192-0347
|
Nut M8 hex |
$0.89
|
2 |
|
ships same day |
206 |
192-0348
|
Screw M8 x 12mm truss head |
$2.56
|
16 |
|
ships same day |
207a |
192-0349
|
Front cover |
$183.35
|
1 |
(1400/1500/1600/1700) |
usually ships 1-5 days |
207b |
192-0350
|
Front cover |
$96.44
|
1 |
(1800/1900) |
usually ships 1-5 days |
208a |
192-0351
|
Decorative strip (1500) |
$99.46
|
1 |
|
usually ships 1-5 days |
208b |
192-0352
|
Decorative strip (1700) |
$83.99
|
1 |
|
usually ships 1-5 days |
208c |
192-0353
|
Decorative strip (1900) (OBSOLETE) |
$65.19
|
1 |
|
usually ships 1-5 days |
208d |
192-0354
|
Decorative strip (1400) |
$71.82
|
1 |
|
usually ships 1-5 days |
208e |
192-0355
|
Decorative strip (1600) |
$53.53
|
1 |
|
usually ships 1-5 days |
208f |
192-0356
|
Decorative strip (1800) |
$84.93
|
1 |
|
usually ships 1-5 days |
209a |
192-0357
|
Righthand side cover |
$200.49
|
1 |
(used on models with two 12V batteries) (most common) |
usually ships 19-25 days |
209b |
192-0362
|
Righthand side cover |
$334.75
|
1 |
(used on models with four 6V batteries) |
usually ships 1-5 days |
209c |
192-0363
|
Intermediate profile righthand (OBSOLETE) |
$186.24
|
1 |
(used to push the side cover away from the machine to make room for bigger batteries) (not used on the Aldi machines) |
usually ships 1-5 days |
209d |
192-0364
|
Screw M8 x 12mm socket head |
$2.64
|
12 |
|
ships same day |
210a |
192-0365
|
Lefthand side cover |
$323.86
|
1 |
(used on models with two 12V batteries) (most common) |
usually ships 1-5 days |
210b |
192-0358
|
Lefthand side cover |
$548.55
|
1 |
(used on models with four 6V batteries) |
usually ships 1-5 days |
210c |
192-0366
|
Intermediate profile lefthand (OBSOLETE) |
$181.40
|
1 |
|
usually ships 1-5 days |
210d |
192-0364
|
Screw M8 x 12mm socket head |
$2.64
|
12 |
|
ships same day |
N/S |
192-1723
|
Articulation set |
$149.52
|
1 |
(optional) |
usually ships 1-5 days |