| # | Part | Description | Price | Req | Notes | Availability |
101a |
N/A
|
Not available |
Call for price
|
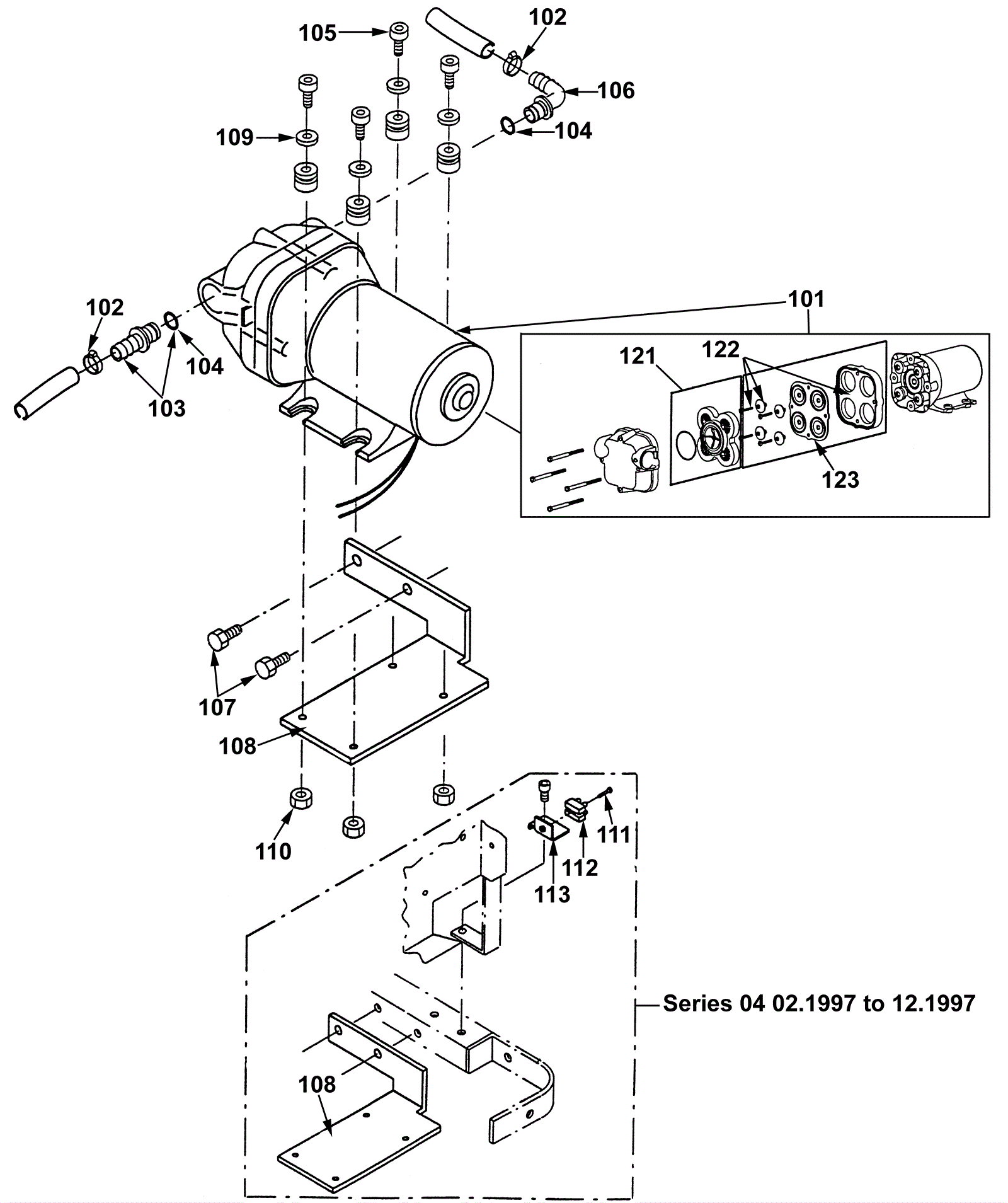
1 |
(pump) (series 04) (02.1997 to 12.1997) |
usually ships 3-26 days |
101b |
192-0333
|
Solution pump (1400-1900 models) (OBSOLETE) |
$545.15
|
1 |
(series 04) (08.2001 to 05.2003) |
usually ships 19-25 days |
101c |
192-1385
|
Pump head assembly |
$304.18
|
1 |
(head only) |
usually ships 19-25 days |
102 |
192-0334
|
Hose clamp |
$2.56
|
2 |
|
usually ships 19-25 days |
103 |
192-0335
|
Nipple with O-ring |
$12.69
|
1 |
|
usually ships 1-5 days |
104 |
192-0336
|
O-ring |
$5.76
|
2 |
|
usually ships 1-5 days |
105 |
192-0337
|
Screw M5 x 25mm socket head cap |
$3.47
|
4 |
(series 04) (02.1997 to 12.1997) |
usually ships 1-5 days |
106 |
192-0338
|
90 degree elbow (OBSOLETE) |
$16.09
|
1 |
|
usually ships 19-25 days |
107 |
999-0517
|
Bolt M8-1.25 x 16mm hex head full thread zinc |
$0.99
|
2 |
|
ships same day |
108 |
192-0339
|
Pump mounting bracket |
$47.06
|
1 |
|
usually ships 1-5 days |
109 |
192-0091
|
Washer |
$0.89
|
4 |
|
ships same day |
110 |
192-0340
|
Nut M5 hex self locking |
$3.08
|
4 |
|
usually ships 19-25 days |
111 |
192-0054
|
Screw M3 x 16mm raised cheese head |
$5.01
|
1 |
(series 04) (02.1997 to 12.1997) |
ships same day |
112 |
192-0260
|
2-way connection block |
$2.95
|
1 |
(series 04) (02.1997 to 12.1997) |
ships same day |
113 |
192-0341
|
Clamp plate (OBSOLETE) |
$26.06
|
1 |
(series 04) (02.1997 to 12.1997) |
usually ships 1-5 days |
121 |
N/A
|
Not available |
Call for price
|
1 |
(valve set) |
usually ships 3-26 days |
122 |
N/A
|
Not available |
Call for price
|
1 |
(piston set) |
usually ships 3-26 days |
123 |
N/A
|
Not available |
Call for price
|
1 |
(piston) (series 04) (02.1997 to 12.1997) |
usually ships 3-26 days |