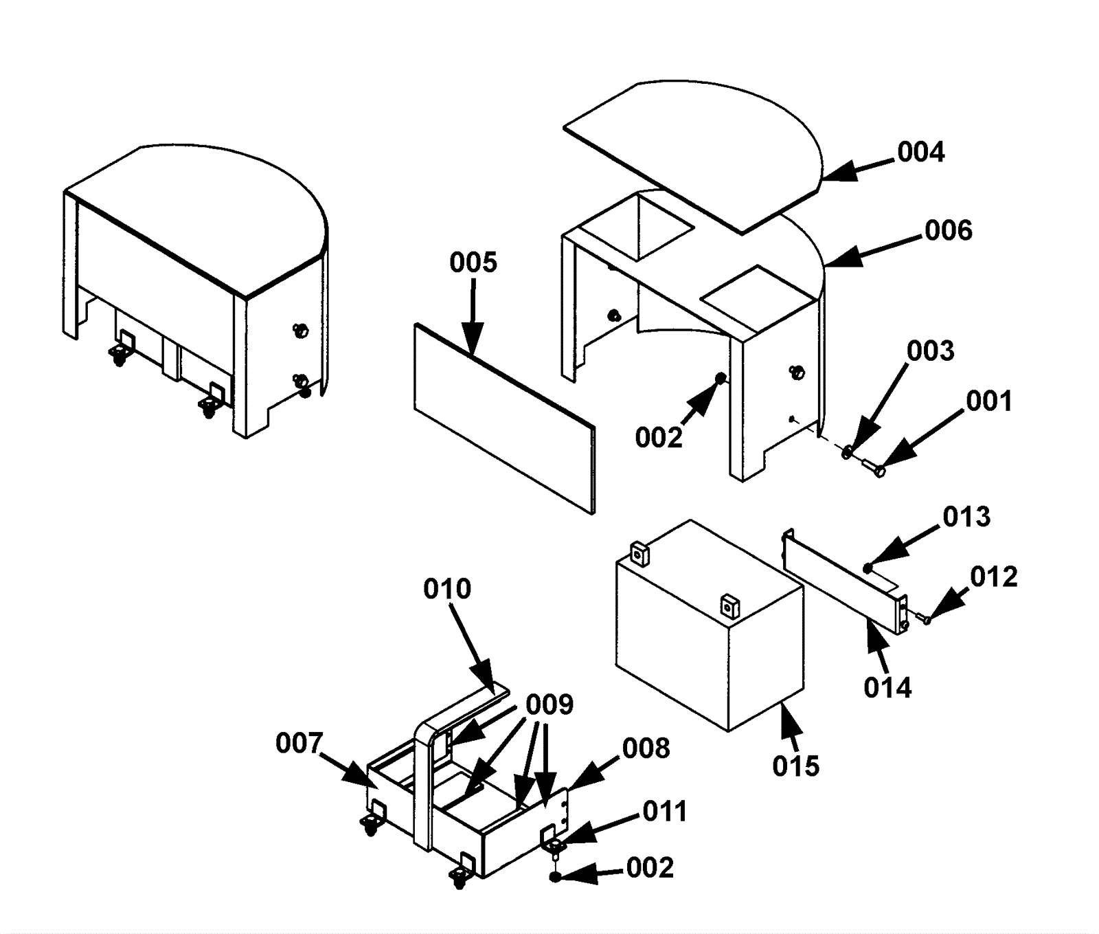
PB28 Battery Tray and Cover Assembly

#PartDescriptionPriceReqNotesAvailability
001 999-0297 Bolt 1/4-20 x 1 hex head stainless steel $2.53 4 ships same day
002 999-0595 Nut 1/4-20 flange lock serrated zinc plated $0.99 8 ships same day
003 999-0016 Washer 1/4 flat plain finish $0.99 4 ships same day
004 204-0122 Tank pad $12.46 1 usually ships 12-17 days
005 189-8558 Battery cover back (OBSOLETE) $4.27 1 usually ships 12-17 days
006 189-8559 Battery cover fabrication (OBSOLETE) $69.88 1 usually ships 12-17 days
007 189-8560 Felt 1 1/2 x 7 1/2 Call for price 1 usually ships 1-5 days
008 189-8561 Battery tray weldment $84.06 1 usually ships 1-5 days
009 189-8562 Felt 1 1/2 x 5 Call for price 4 usually ships 1-5 days
010 189-8563 Felt 3/4 x 7 1/2 Call for price 1 usually ships 1-5 days
011 999-0020 Bolt 1/4-20 x 3/4 hex head grade 5 zinc plated $0.99 4 ships same day
012 999-0461 Screw 10-32 x 5/8 pan head slotted zinc plated $0.99 4 ships same day
013 999-0086 Nut 10-32 nylon insert lock zinc plated $0.99 4 ships same day
014 189-8564 Battery tray retainer bracket $28.60 1 usually ships 1-5 days
015 162-0001 12V 35Ah AGM battery $125.17 1 ships same day