| # | Part | Description | Price | Req | Notes | Availability |
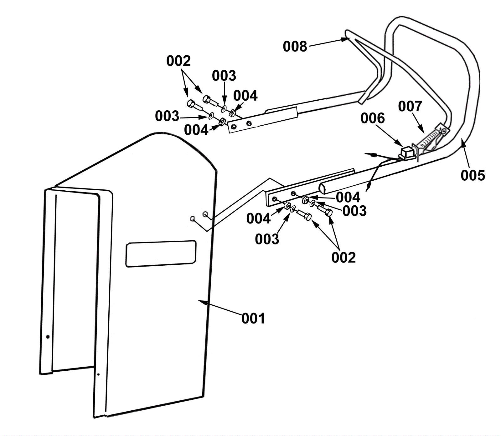
001 |
N/A
|
Not available |
Call for price
|
1 |
Front and back cover |
usually ships 3-26 days |
002 |
999-0039
|
Bolt 3/8-16 x 1 1/4 hex head grade 5 zinc plated |
$0.99
|
4 |
|
ships same day |
003 |
999-0044
|
Washer 7/16 medium split lock |
$0.99
|
4 |
|
ships same day |
004 |
999-0033
|
Washer 7/16 SAE flat |
$0.99
|
4 |
|
ships same day |
005 |
189-8209
|
Handle |
$98.14
|
1 |
|
usually ships 12-17 days |
006a |
189-9012
|
Red kill switch |
$55.46
|
1 |
|
usually ships 12-17 days |
006b |
189-8223
|
Aluminum sleeve |
$2.97
|
1 |
|
usually ships 1-5 days |
006c |
189-8222
|
Lanyard for red kill switch (OBSOLETE) |
$6.35
|
1 |
|
usually ships 12-17 days |
007 |
189-8210
|
Spring |
$8.14
|
1 |
|
usually ships 1-5 days |
008 |
189-8208
|
Handle lever |
$40.34
|
1 |
|
usually ships 1-5 days |