| # | Part | Description | Price | Req | Notes | Availability |
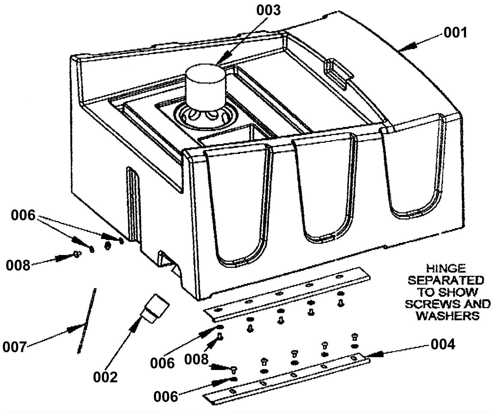
001 |
189-8353
|
Large recovery tank granite |
$293.59
|
1 |
|
usually ships 1-5 days |
002 |
189-8354
|
1 1/2 hose to 1 1/2 mpt adaptor assembly |
$9.26
|
1 |
|
usually ships 1-5 days |
003 |
189-8355
|
Foam float assembly |
$14.66
|
1 |
|
usually ships 1-5 days |
004 |
189-8356
|
Recovery tank hinge |
$41.47
|
1 |
|
usually ships 1-5 days |
005 |
999-0334
|
Bolt 1/4-20 x 3/4 inch hex head stainless steel |
$3.85
|
1 |
|
usually ships 16-20 days |
006 |
999-0016
|
Washer 1/4 flat plain finish |
$0.99
|
12 |
|
ships same day |
007 |
189-8357
|
Recovery tank restraining cable |
$111.56
|
1 |
|
usually ships 1-5 days |
008 |
999-0396
|
Screw 1/4-20 x 1/2 pan head slotted stainless steel |
$0.99
|
10 |
|
ships same day |