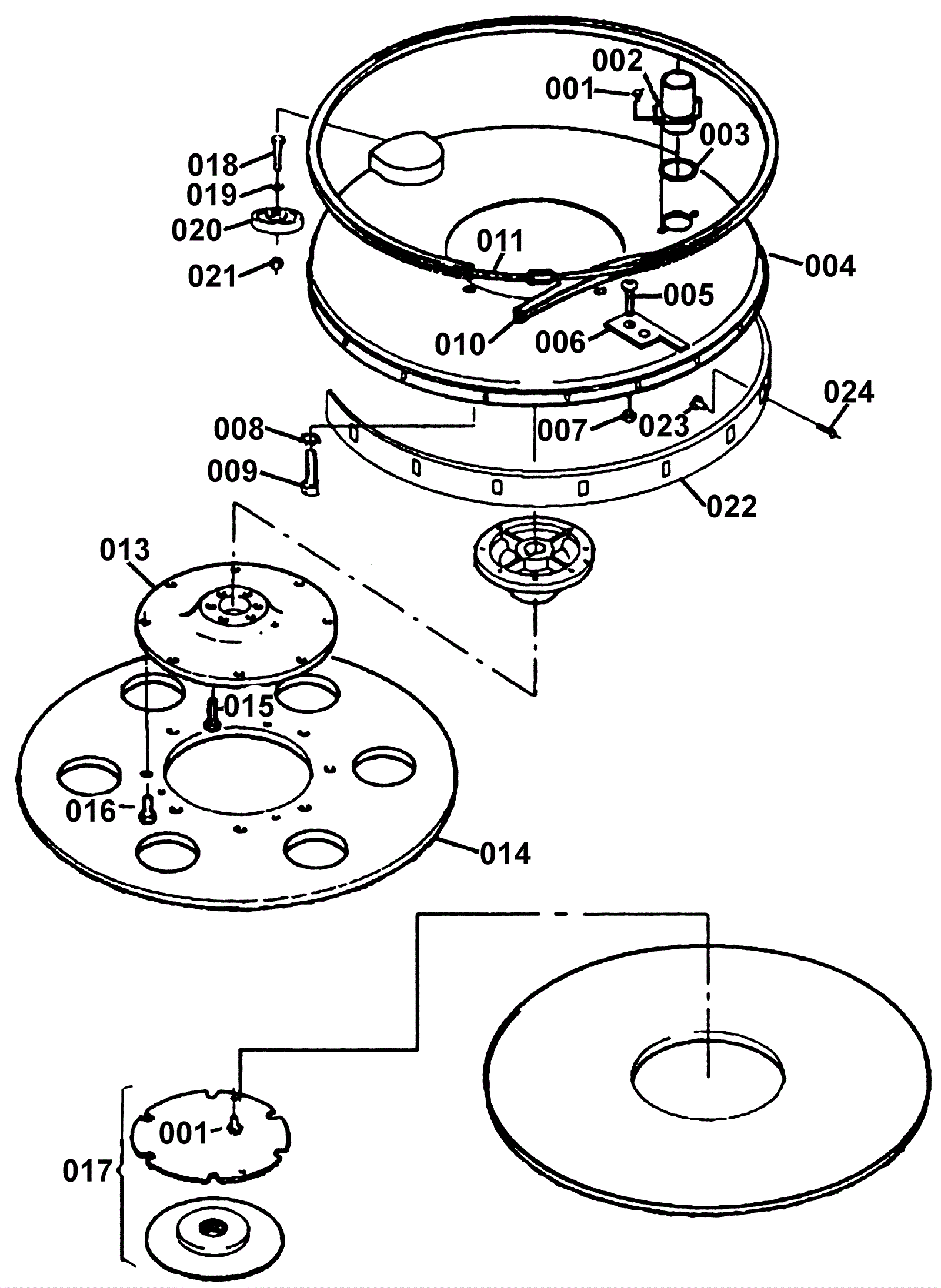
# | Part | Description | Price | Req | Notes | Availability |
001 |
173-2549
|
Bolt 10-32 x 3/8 hex head thread rolling with star washer |
$0.99
|
|
|
usually ships 11-15 days |
002 |
189-2171
|
Tube assembly (no dust) |
$8.01
|
|
|
usually ships 1-5 days |
003 |
189-2172
|
O ring |
Call for price
|
|
|
usually ships 1-5 days |
004 |
189-2173
|
Shroud assembly |
$506.17
|
|
|
usually ships 1-5 days |
005 |
999-0371
|
Screw 10-32 x 1/2 pan head phillips zinc plated |
$0.99
|
|
|
ships same day |
006 |
189-2174
|
Bracket air flow |
Call for price
|
|
|
usually ships 1-5 days |
007 |
173-2472
|
Nut 10-32 with star washer |
$0.99
|
|
|
usually ships 1-5 days |
008 |
999-0017
|
Washer 1/4 external star lock |
$0.99
|
|
|
ships same day |
009 |
999-0200
|
Bolt 1/2-13 x 1 1/4 hex head |
$3.45
|
|
|
ships same day |
010 |
189-2175
|
Bumper shroud |
$110.19
|
|
|
usually ships 1-5 days |
011 |
173-0615
|
Worm gear clamp |
$36.01
|
|
|
usually ships 11-15 days |
013 |
189-2177
|
Hub flex disk (OBSOLETE) |
$122.34
|
|
|
usually ships 1-5 days |
014 |
189-2178
|
Pad driver |
$135.17
|
|
|
usually ships 1-5 days |
015 |
173-0466
|
Screw 10-32 x 3/4 phillips truss head |
$3.04
|
|
|
usually ships 1-5 days |
016 |
999-0273
|
Screw 1/4-20 x 1/2 hex washer head thread rolling zinc |
$0.99
|
|
|
ships same day |
017 |
991-2201
|
Center-Lok II pad holder - right hand thread (black) |
$39.08
|
|
|
ships same day |
018 |
999-0542
|
Bolt 3/8-16 x 1 3/4 hex head grade 5 zinc plated |
$0.99
|
|
|
ships same day |
019 |
999-0617
|
Washer 3/8 x 1 flat stainless steel |
$1.82
|
|
|
ships same day |
020 |
189-0326
|
Bumper wheel |
$29.04
|
|
|
usually ships 12-17 days |
021 |
999-0188
|
Nut 3/8-16 nylon insert lock zinc plated |
$0.99
|
|
|
ships same day |
022 |
189-2181
|
Skirt shroud |
$490.74
|
|
|
usually ships 1-5 days |
023 |
189-2182
|
Nut 8-32 x 7/16 tee |
$2.38
|
|
|
usually ships 1-5 days |
024 |
999-0452
|
Screw 8-32 x 3/8 pan head phillips zinc plated |
$0.99
|
|
|
ships same day |