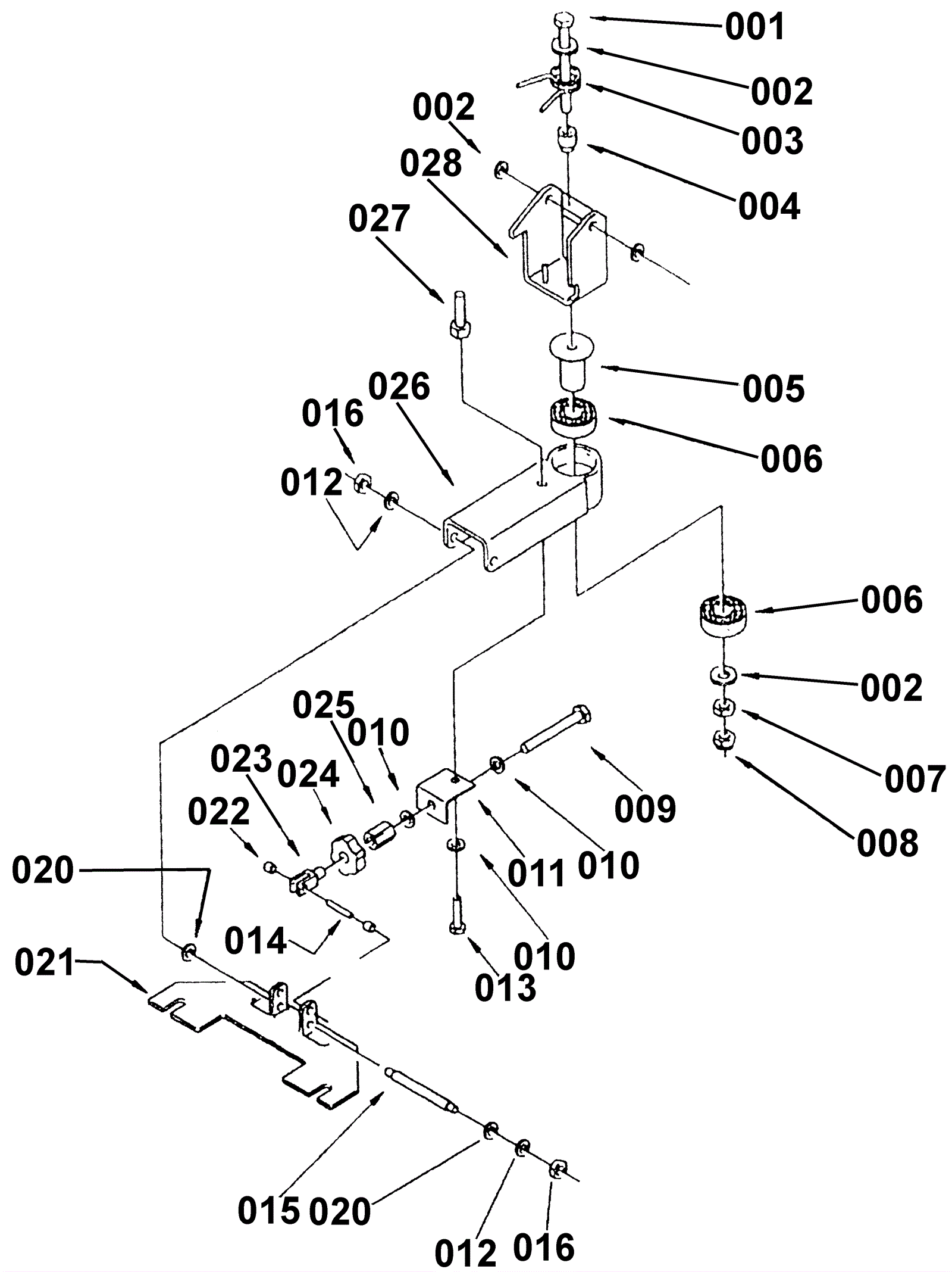
Squeegee Support Assembly
Click to enlarge