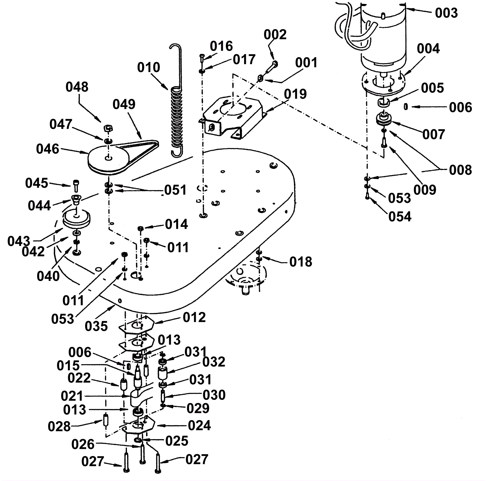
| # | Part | Description | Price | Req | Notes | Availability |
001 |
189-1379
|
Nut M8 |
$30.60
|
1 |
|
usually ships 1-5 days |
002 |
189-1373
|
Screw 8 x 45 inch |
$4.20
|
1 |
|
ships same day |
003 |
189-0155
|
Motor |
$2,377.87
|
1 |
|
usually ships 11-14 days |
004 |
203-0857
|
Flange |
$79.41
|
1 |
|
usually ships 1-5 days |
005 |
189-2435
|
Spacer |
$23.03
|
1 |
|
usually ships 1-5 days |
006 |
189-0153
|
Tang-tongue |
$6.19
|
2 |
|
usually ships 1-5 days |
007 |
189-0850
|
Pulley |
$104.86
|
1 |
|
usually ships 1-5 days |
008 |
189-1391
|
Washer D6 |
$0.99
|
5 |
|
usually ships 11-14 days |
009 |
189-1497
|
Screw 6 x 16 inch |
$4.20
|
1 |
|
usually ships 11-14 days |
010 |
189-0556
|
Spring |
$45.44
|
1 |
|
usually ships 1-5 days |
011 |
999-0469
|
Nut M6-1 nylon insert lock zinc plated |
$1.32
|
2 |
|
ships same day |
012 |
189-2437
|
Gasket |
$18.05
|
1 |
|
usually ships 1-5 days |
013 |
189-0150
|
Bearing |
$36.52
|
2 |
|
usually ships 1-5 days |
014 |
189-1489
|
Nut M6 |
$3.61
|
1 |
|
usually ships 1-5 days |
015 |
189-2438
|
Shaft |
$154.50
|
1 |
|
usually ships 11-14 days |
016 |
189-2439
|
Screw |
$10.15
|
4 |
|
usually ships 1-5 days |
017 |
203-0971
|
Washer D6 |
$2.99
|
4 |
|
usually ships 11-14 days |
018 |
189-1487
|
Washer |
$10.64
|
8 |
|
usually ships 11-14 days |
019 |
189-2440
|
Support |
$174.99
|
1 |
|
usually ships 1-5 days |
021 |
203-0973
|
Belt |
$343.89
|
1 |
|
usually ships 11-14 days |
022 |
189-2442
|
Spacer |
$18.67
|
1 |
|
usually ships 1-5 days |
024 |
173-1570
|
Nylon braided hose 3/8 x 7 inch |
$6.53
|
2 |
|
usually ships 1-5 days |
025 |
189-0149
|
Ring |
$5.19
|
1 |
|
usually ships 1-5 days |
026 |
189-1488
|
Screw M6 |
$4.20
|
1 |
|
usually ships 11-14 days |
027 |
189-1539
|
Screw |
$4.20
|
2 |
|
usually ships 11-14 days |
028 |
189-0147
|
Bearing |
$10.35
|
2 |
|
usually ships 11-14 days |
029 |
189-0081
|
Ring |
$0.99
|
2 |
|
usually ships 11-14 days |
030 |
189-0148
|
Pin/plug |
$19.81
|
1 |
|
usually ships 1-5 days |
031 |
203-3263
|
Bearing |
$34.43
|
2 |
|
ships same day |
032 |
189-0146
|
Pulley |
$40.28
|
1 |
|
usually ships 11-14 days |
035 |
189-2443
|
Head |
$1,009.66
|
1 |
|
usually ships 1-5 days |
040 |
189-1492
|
Nut M8 |
$0.99
|
3 |
|
usually ships 11-14 days |
042 |
189-1400
|
Washer |
$2.99
|
3 |
|
usually ships 11-14 days |
043 |
189-0060
|
Wheel |
$8.40
|
3 |
|
usually ships 11-14 days |
044 |
189-0901
|
Bushing |
$32.81
|
3 |
|
usually ships 1-5 days |
045 |
203-0182
|
Screw M8 |
$5.19
|
3 |
|
usually ships 1-5 days |
046 |
189-2444
|
Pulley |
$237.88
|
1 |
|
usually ships 1-5 days |
047 |
189-1643
|
Washer |
$2.18
|
1 |
|
usually ships 1-5 days |
048 |
999-0471
|
Nut M8-1.25 nylon insert lock zinc plated |
$0.99
|
1 |
|
ships same day |
049 |
189-2445
|
Belt |
$72.71
|
1 |
|
usually ships 11-14 days |
051 |
189-1481
|
Washer |
$5.02
|
2 |
|
usually ships 1-5 days |
053 |
189-1477
|
Washer cham |
$5.19
|
8 |
|
usually ships 11-14 days |
054 |
189-1445
|
Turned eye screw |
$0.99
|
4 |
|
usually ships 11-14 days |