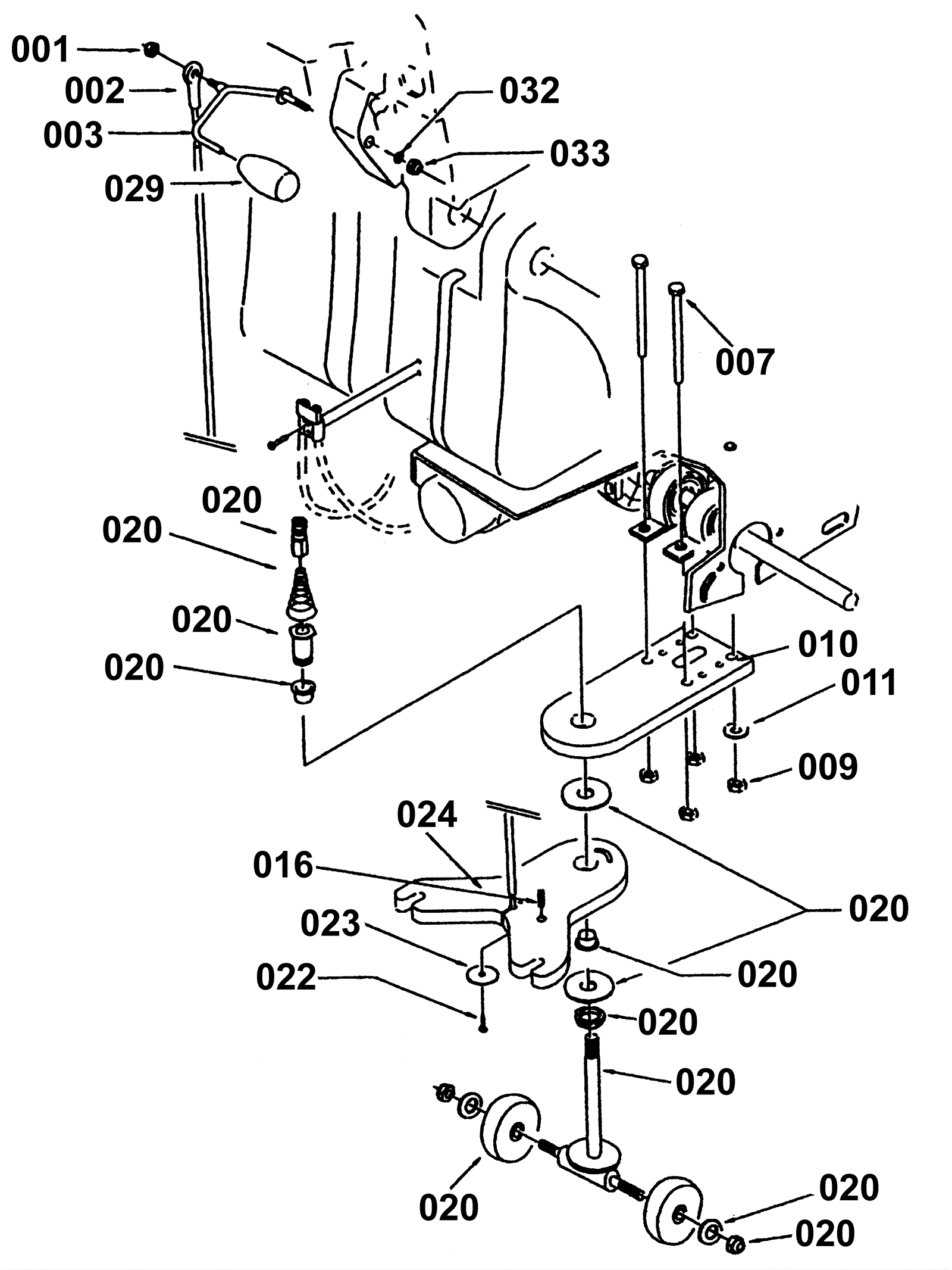
| # | Part | Description | Price | Req | Notes | Availability |
001 |
999-0471
|
Nut M8-1.25 nylon insert lock zinc plated |
$0.99
|
3 |
|
ships same day |
002 |
189-2420
|
Squeegee lift cable |
$54.68
|
1 |
|
usually ships 11-14 days |
003 |
203-0892
|
Lever |
$108.38
|
1 |
|
usually ships 1-5 days |
007 |
189-1439
|
Screw |
$6.26
|
5 |
|
usually ships 1-5 days |
009 |
999-0471
|
Nut M8-1.25 nylon insert lock zinc plated |
$0.99
|
5 |
|
ships same day |
010 |
189-1124
|
Support |
$279.38
|
1 |
|
usually ships 1-5 days |
011 |
189-1363
|
Washer |
$5.19
|
4 |
|
usually ships 1-5 days |
016 |
203-0900
|
Screw |
$14.37
|
1 |
|
usually ships 1-5 days |
022 |
189-1634
|
Screw 4 x 8 inch |
$4.20
|
1 |
|
usually ships 1-5 days |
023 |
189-1635
|
Washer |
$14.22
|
1 |
|
usually ships 1-5 days |
024 |
189-1125
|
Plate |
$363.06
|
1 |
|
usually ships 1-5 days |
029 |
189-1129
|
Handgrip |
$26.52
|
1 |
|
usually ships 1-5 days |
032 |
189-1532
|
Washer D10 |
$2.99
|
1 |
|
usually ships 1-5 days |
033 |
189-1415
|
Nut |
$3.67
|
1 |
|
usually ships 1-5 days |