| # | Part | Description | Price | Req | Notes | Availability |
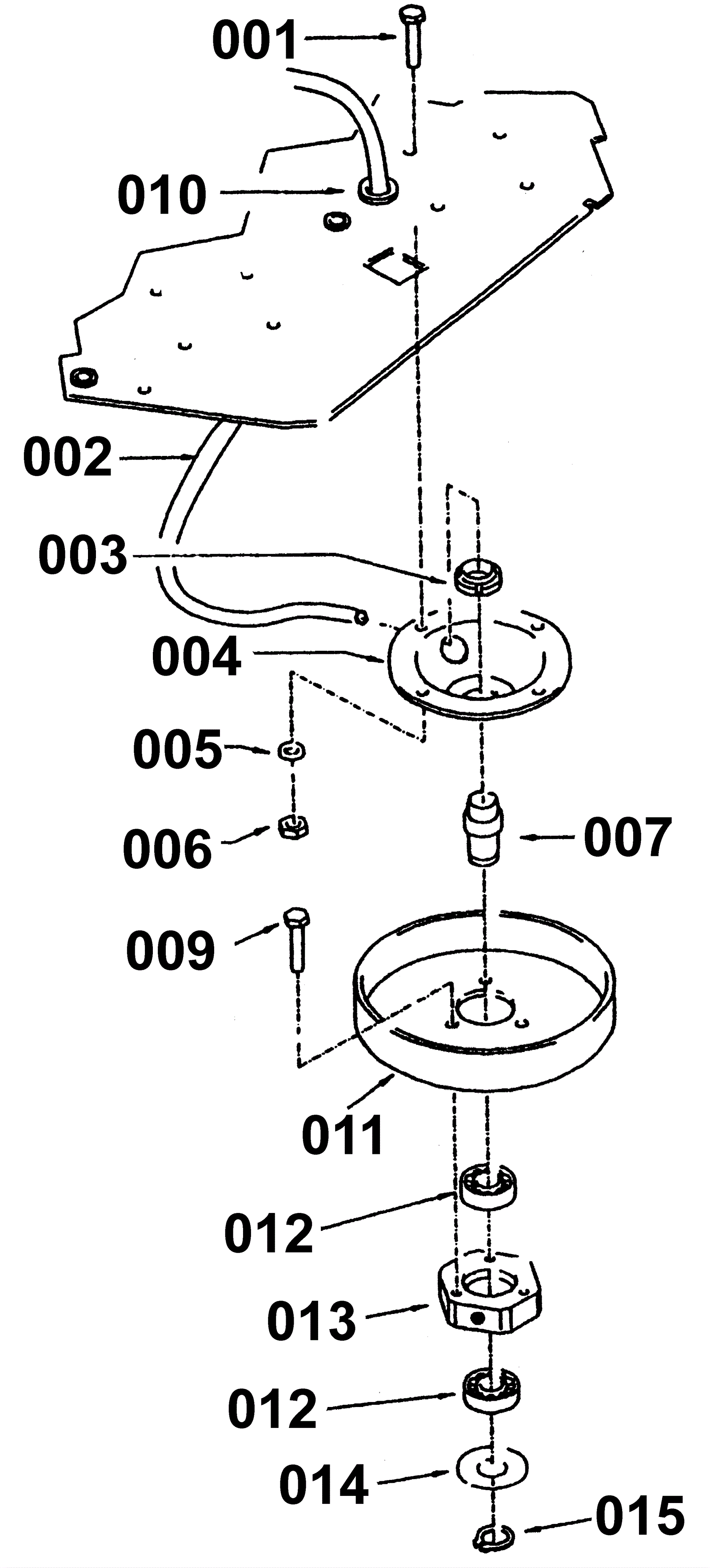
001 |
189-5020
|
Plated axle shaft |
$15.70
|
8 |
|
usually ships 12-17 days |
002 |
189-2389
|
Hose |
$22.90
|
2 |
|
usually ships 11-14 days |
003 |
189-1429
|
Nut |
$21.31
|
2 |
|
usually ships 11-14 days |
004 |
189-2390
|
Flange |
$71.35
|
2 |
|
usually ships 1-5 days |
005 |
189-1363
|
Washer |
$5.19
|
8 |
|
usually ships 1-5 days |
006 |
999-0471
|
Nut M8-1.25 nylon insert lock zinc plated |
$0.99
|
8 |
|
ships same day |
007 |
189-2391
|
Pin |
$171.33
|
2 |
|
usually ships 11-14 days |
009 |
189-1452
|
Screw M5-16 zinc plated |
$5.19
|
6 |
|
usually ships 1-5 days |
010 |
189-2392
|
Fair lead |
$4.27
|
2 |
|
usually ships 1-5 days |
011 |
189-0094
|
Pulley |
$117.19
|
2 |
|
usually ships 11-14 days |
013 |
189-0208
|
Hexagon |
$204.52
|
2 |
|
usually ships 11-14 days |
014 |
189-0209
|
Guard |
$21.19
|
2 |
|
usually ships 11-14 days |
015 |
189-0093
|
Snap Ring |
$4.80
|
2 |
|
usually ships 11-14 days |