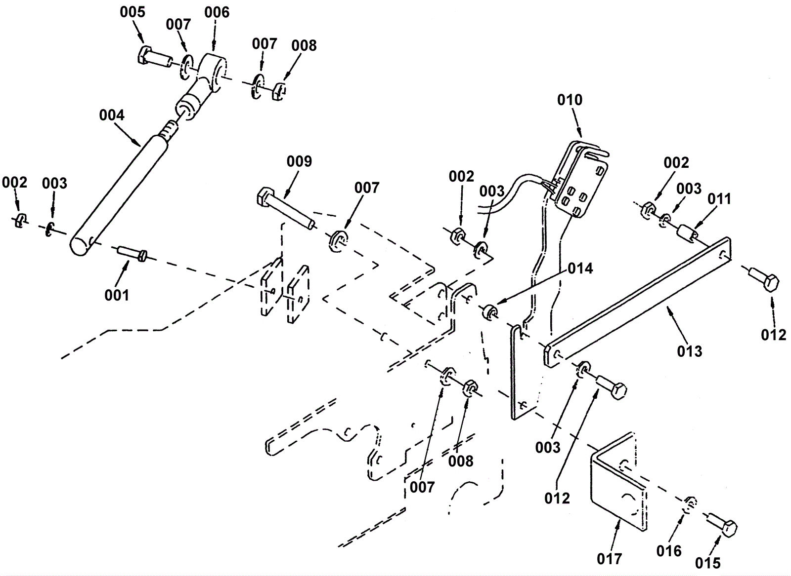
| # | Part | Description | Price | Req | Notes | Availability |
001 |
189-1373
|
Screw 8 x 45 inch |
$4.20
|
1 |
|
ships same day |
002 |
999-0471
|
Nut M8-1.25 nylon insert lock zinc plated |
$0.99
|
3 |
|
ships same day |
003 |
189-0897
|
Washer D8 |
$2.99
|
4 |
|
usually ships 11-14 days |
004 |
203-1732
|
Lever |
$125.22
|
1 |
|
usually ships 1-5 days |
005 |
203-1733
|
Screw 12 x 45 inch zinc |
$6.26
|
1 |
|
usually ships 11-14 days |
006 |
203-1739
|
Articulation |
$196.37
|
1 |
|
usually ships 1-5 days |
007 |
189-1414
|
Washer D12 |
$3.67
|
4 |
|
usually ships 11-14 days |
008 |
189-1413
|
Nut M12 |
$4.25
|
2 |
|
usually ships 1-5 days |
009 |
203-4836
|
Screw M12 |
$4.20
|
1 |
|
usually ships 11-14 days |
010 |
203-1740
|
Support assembly |
$584.98
|
1 |
|
usually ships 1-5 days |
011 |
189-0677
|
Spacer |
$10.30
|
1 |
|
usually ships 1-5 days |
012 |
189-1461
|
Screw |
Call for price
|
2 |
|
usually ships 1-5 days |
013 |
203-1736
|
Lever |
$58.53
|
1 |
|
usually ships 1-5 days |
014 |
189-0095
|
Bushing |
$3.26
|
1 |
|
usually ships 1-5 days |
015 |
189-1512
|
Screw 8 x 20 inch |
$4.20
|
1 |
|
usually ships 11-14 days |
016 |
189-1644
|
Washer |
$5.19
|
1 |
|
usually ships 1-5 days |
017 |
203-1737
|
Support |
$54.48
|
1 |
|
usually ships 1-5 days |