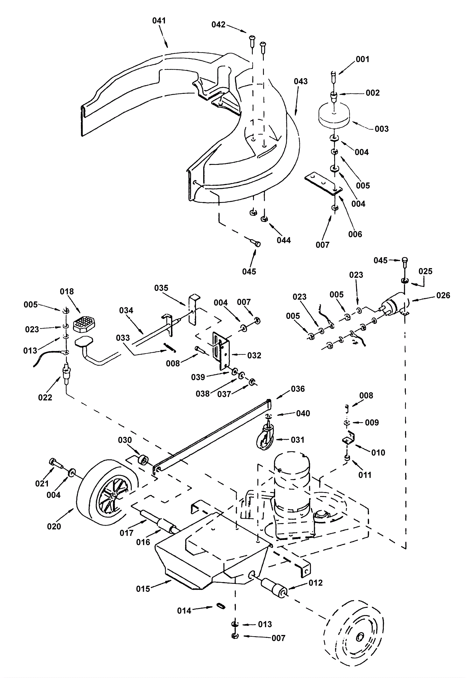
| # | Part | Description | Price | Req | Notes | Availability |
001 |
189-1399
|
Screw M8 zinc |
$5.19
|
1 |
|
usually ships 1-5 days |
002 |
189-0901
|
Bushing |
$32.81
|
1 |
|
usually ships 1-5 days |
003 |
189-0060
|
Wheel |
$8.40
|
1 |
|
usually ships 11-14 days |
004 |
189-0897
|
Washer D8 |
$2.99
|
4 |
|
usually ships 11-14 days |
005 |
189-1492
|
Nut M8 |
$0.99
|
6 |
|
usually ships 11-14 days |
006 |
189-1647
|
Support |
$73.15
|
1 |
|
usually ships 1-5 days |
007 |
999-0471
|
Nut M8-1.25 nylon insert lock zinc plated |
$0.99
|
3 |
|
ships same day |
008 |
189-1445
|
Turned eye screw |
$0.99
|
2 |
|
usually ships 11-14 days |
009 |
189-1347
|
Washer |
$5.06
|
1 |
|
usually ships 1-5 days |
010 |
203-0876
|
Small square |
$20.78
|
1 |
|
usually ships 1-5 days |
011 |
189-0095
|
Bushing |
$3.26
|
1 |
|
usually ships 1-5 days |
012 |
203-0877
|
Bushing |
$66.85
|
1 |
|
usually ships 1-5 days |
013 |
189-1643
|
Washer |
$2.18
|
2 |
|
usually ships 1-5 days |
014 |
189-0643
|
Tongue |
$17.53
|
1 |
|
usually ships 1-5 days |
015 |
203-0878
|
Bracket |
$347.38
|
1 |
|
usually ships 1-5 days |
016 |
203-0879
|
Bushing |
$41.64
|
1 |
|
usually ships 1-5 days |
017 |
203-0880
|
Shaft |
$356.03
|
1 |
|
usually ships 1-5 days |
018 |
189-0301
|
Front pedal pad |
$14.18
|
1 |
|
usually ships 11-14 days |
020 |
189-0302
|
Wheel |
$7.59
|
2 |
|
usually ships 1-5 days |
022 |
189-0446
|
Insulator |
$23.34
|
1 |
|
usually ships 1-5 days |
023 |
189-1369
|
Washer cham |
$5.19
|
5 |
|
usually ships 1-5 days |
025 |
189-1375
|
Washer D4 |
$3.10
|
2 |
|
usually ships 11-14 days |
026 |
189-0105
|
Relay |
$214.81
|
1 |
|
usually ships 11-14 days |
030 |
189-1648
|
Spacer |
$33.50
|
1 |
|
usually ships 1-5 days |
031 |
189-0161
|
Small wheel |
$72.71
|
1 |
|
usually ships 11-14 days |
032 |
203-2857
|
Bracket |
$73.26
|
1 |
|
usually ships 1-5 days |
033 |
203-0886
|
Spring |
$12.49
|
1 |
|
usually ships 1-5 days |
034 |
203-2858
|
Rod (OBSOLETE) |
$128.85
|
1 |
|
usually ships 1-5 days |
035 |
203-0888
|
Lever |
$54.68
|
1 |
|
usually ships 1-5 days |
036 |
203-2859
|
Lever (OBSOLETE) |
Call for price
|
1 |
|
usually ships 1-5 days |
037 |
189-1489
|
Nut M6 |
$3.61
|
2 |
|
usually ships 1-5 days |
038 |
189-1477
|
Washer cham |
$5.19
|
2 |
|
usually ships 11-14 days |
039 |
189-1487
|
Washer |
$10.64
|
2 |
|
usually ships 11-14 days |
040 |
189-1414
|
Washer D12 |
$3.67
|
2 |
|
usually ships 11-14 days |
041 |
189-0303
|
Brush cover |
$603.74
|
1 |
|
usually ships 1-5 days |
042 |
189-1424
|
Screw |
$5.17
|
2 |
|
usually ships 1-5 days |
043 |
189-0304
|
Bumper |
$142.18
|
1 |
|
usually ships 1-5 days |
044 |
203-0524
|
Nut M6 lock |
$5.50
|
2 |
|
usually ships 1-5 days |
045 |
189-1376
|
Screw 4 x 10 inch |
$4.20
|
4 |
|
usually ships 11-14 days |