| # | Part | Description | Price | Req | Notes | Availability |
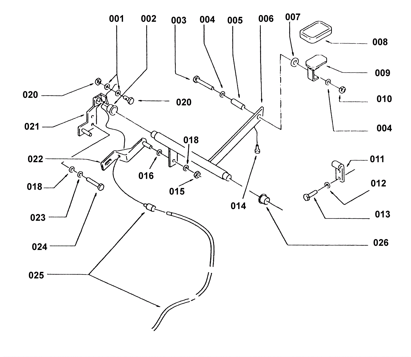
001 |
189-1405
|
Washer |
$5.70
|
2 |
|
usually ships 1-5 days |
002 |
189-0465
|
Bearing |
$3.78
|
1 |
|
usually ships 1-5 days |
003 |
189-1392
|
Screw |
$6.33
|
1 |
|
usually ships 1-5 days |
004 |
189-1345
|
Washer d10 cham |
$5.19
|
2 |
|
usually ships 1-5 days |
005 |
189-0466
|
Spacer |
$12.76
|
1 |
|
usually ships 1-5 days |
006 |
189-0467
|
Lever |
$214.01
|
1 |
|
usually ships 1-5 days |
007 |
189-1460
|
Washer |
$2.31
|
1 |
|
usually ships 1-5 days |
008 |
189-0233
|
Rubber shim |
$37.21
|
1 |
|
usually ships 1-5 days |
009 |
189-0468
|
Threadle |
$99.75
|
1 |
|
usually ships 1-5 days |
010 |
203-0524
|
Nut M6 lock |
$5.50
|
1 |
|
usually ships 1-5 days |
011 |
189-0469
|
Block (OBSOLETE) |
Call for price
|
1 |
|
usually ships 11-14 days |
012 |
189-1386
|
Washer |
$2.20
|
2 |
|
usually ships 1-5 days |
013 |
189-1346
|
Screw |
Call for price
|
2 |
|
usually ships 1-5 days |
014 |
189-0470
|
Rubber |
Call for price
|
1 |
|
usually ships 1-5 days |
015 |
999-0471
|
Nut M8-1.25 nylon insert lock zinc plated |
$0.99
|
1 |
|
ships same day |
016 |
189-1393
|
Washer |
$2.99
|
1 |
|
usually ships 1-5 days |
018 |
189-1363
|
Washer |
$5.19
|
3 |
|
usually ships 1-5 days |
020 |
189-0418
|
Clamp |
$21.11
|
1 |
|
usually ships 1-5 days |
021 |
189-0464
|
Plate (OBSOLETE) |
$69.44
|
1 |
|
usually ships 1-5 days |
022 |
189-0471
|
Plate |
$142.04
|
1 |
|
usually ships 1-5 days |
023 |
189-1369
|
Washer cham |
$5.19
|
2 |
|
usually ships 1-5 days |
024 |
189-1439
|
Screw |
$6.26
|
2 |
|
usually ships 1-5 days |
025 |
189-0472
|
Cable |
$87.78
|
1 |
|
usually ships 1-5 days |
026 |
189-0273
|
Bearing |
$20.34
|
1 |
|
usually ships 11-14 days |