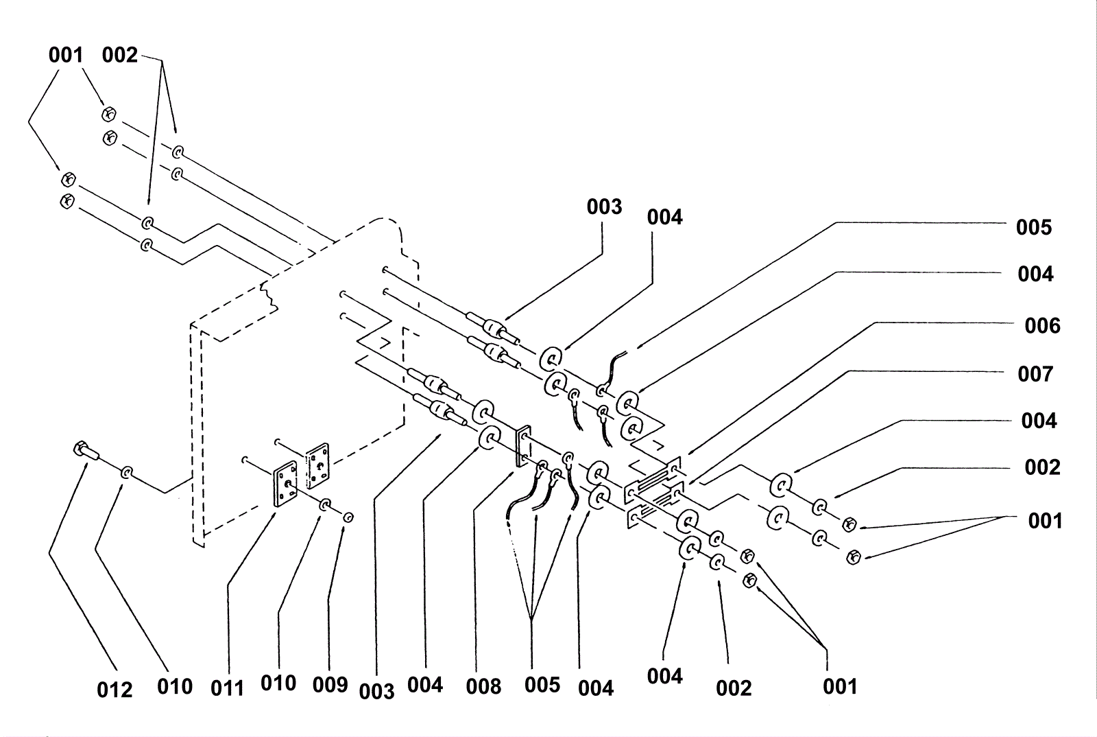
WS36T
Electronic Unit 3
Click to enlarge
#
Part
Description
Price
Req
Notes
Availability
001
189-1379
Nut M8
$30.60
8
usually ships 1-5 days
002
189-1369
Washer cham
$5.19
8
usually ships 1-5 days
003
189-0446
Insulator
$23.34
4
usually ships 1-5 days
004
189-1400
Washer
$2.99
12
usually ships 11-14 days
005
189-0425
Wiring unit
Call for price
1
usually ships 1-5 days
006
189-0456
75amp fuse
$14.37
1
usually ships 1-5 days
007
189-0247
100amp fuse
$14.37
1
usually ships 1-5 days
008
189-0447
Bridge/jumper
Call for price
1
usually ships 1-5 days
009
189-1384
Nut M4
$0.99
2
usually ships 11-14 days
010
189-1375
Washer D4
$3.10
4
usually ships 11-14 days
011
189-0455
Bridge / Jumper
$58.53
2
usually ships 1-5 days
012
189-1444
Screw
Call for price
2
usually ships 1-5 days