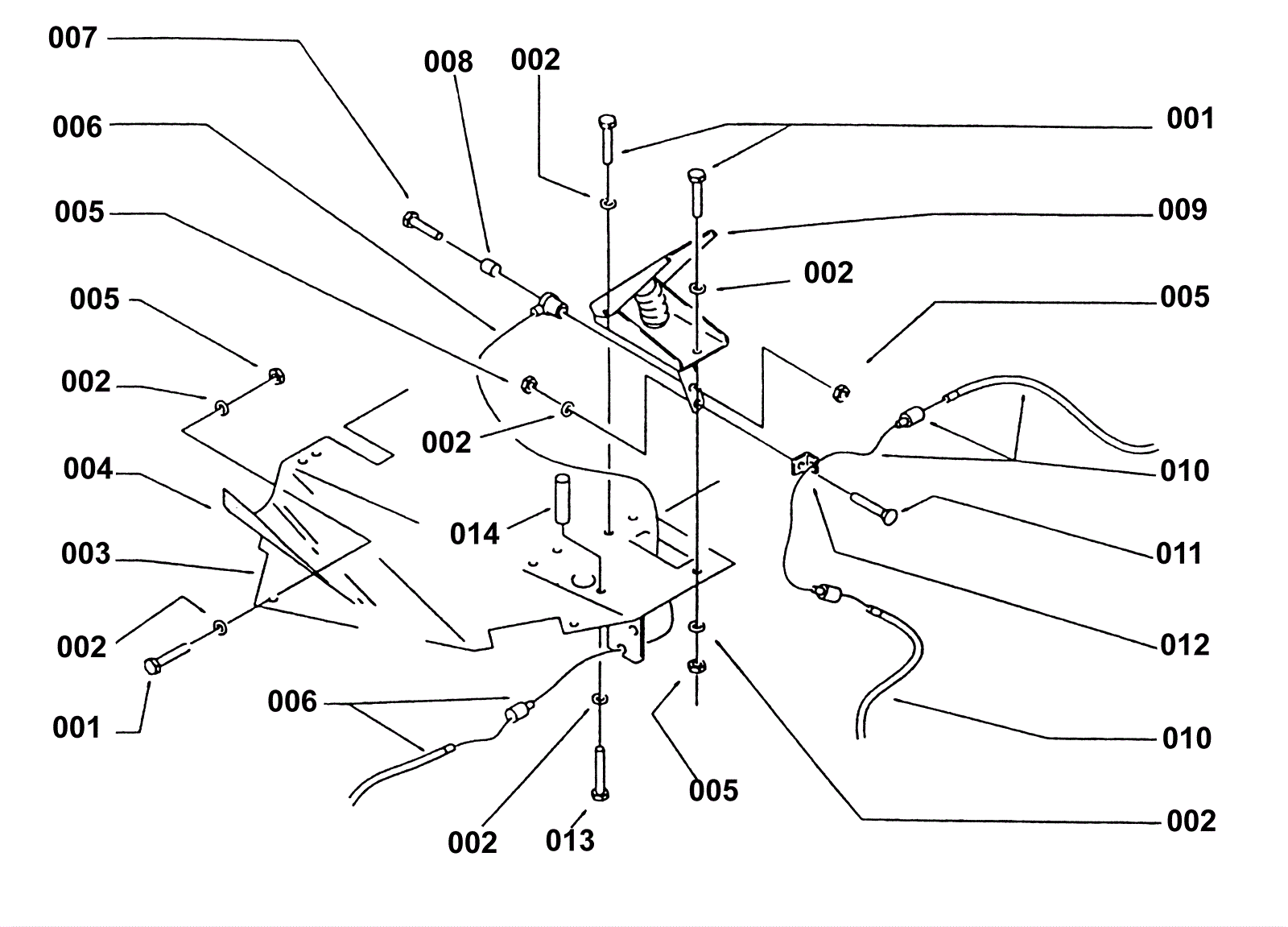
Brake System
Click to enlarge
#
Part
Description
Price
Req
Notes
Availability
001
189-1390
Screw
$4.40
10
usually ships 1-5 days
002
189-1345
Washer d10 cham
$5.19
22
usually ships 1-5 days
003
189-0520
Footboard
Call for price
1
usually ships 1-5 days
004
189-0521
Covering / Coating
Call for price
1
usually ships 1-5 days
005
189-1361
Nut
$5.19
12
usually ships 1-5 days
006
189-0416
Cable
$72.92
1
usually ships 1-5 days
007
189-1424
Screw
$5.17
1
usually ships 1-5 days
008
189-0523
Bushing
$10.41
1
usually ships 1-5 days
009
189-0524
Treadle (OBSOLETE)
Call for price
1
usually ships 1-5 days
010
203-2615
Cable
$137.84
1
usually ships 1-5 days
011
189-1365
Seat screw
$30.60
1
usually ships 1-5 days
012
189-0526
Block / Lock
$42.36
1
usually ships 1-5 days
013
189-1424
Screw
$5.17
1
usually ships 1-5 days
014
189-0527
Spacer
Call for price
1
usually ships 1-5 days