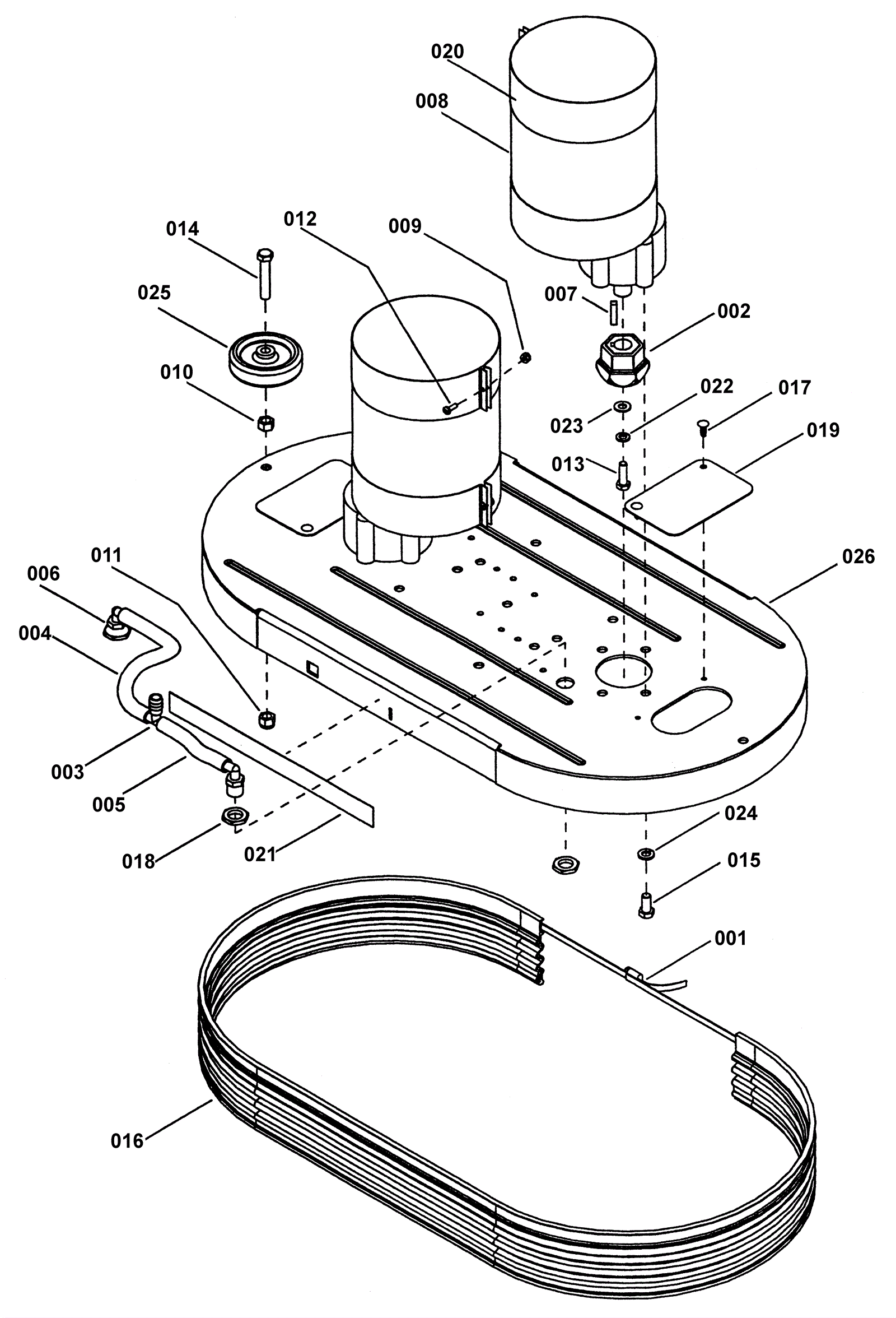
| # | Part | Description | Price | Req | Notes | Availability |
001 |
173-0615
|
Worm gear clamp |
$36.01
|
1 |
|
usually ships 11-15 days |
002 |
189-0021
|
Hex drive hub (OBSOLETE) |
$115.50
|
2 |
|
usually ships 11-15 days |
004 |
173-1570
|
Nylon braided hose 3/8 x 7 inch |
$6.53
|
1 |
|
usually ships 1-5 days |
005 |
173-1571
|
Nylon hose 3/8 x 2 inch |
$68.27
|
1 |
|
usually ships 1-5 days |
007 |
189-0323
|
Square keyway |
$35.72
|
2 |
|
ships same day |
009 |
999-0151
|
Nut 8-32 nylon insert lock zinc plated |
$1.10
|
4 |
|
ships same day |
011 |
173-3869
|
Nut 3/8-16 hex nylock (OBSOLETE) |
$1.03
|
1 |
|
usually ships 11-15 days |
012 |
999-0547
|
Bolt 5/16-18 x 1/2 hex head stainless steel |
$0.99
|
4 |
|
ships same day |
013 |
999-0424
|
Bolt 5/16-18 x 1 hex head stainless steel |
$0.99
|
2 |
|
ships same day |
016 |
189-0325
|
Shroud skirt (OBSOLETE) |
$155.54
|
1 |
|
usually ships 1-5 days |
017 |
173-1577
|
Tree clip |
$6.01
|
4 |
|
usually ships 11-15 days |
018 |
173-3922
|
Sealed bulkhead nut |
$13.31
|
4 |
|
usually ships 11-15 days |
019 |
173-1578
|
Brush release cover |
$13.78
|
2 |
|
usually ships 1-5 days |
020 |
173-3660
|
Motor guard |
$44.33
|
4 |
|
usually ships 1-5 days |
021 |
173-1579
|
anti slip pad |
$9.37
|
1 |
|
usually ships 1-5 days |
022 |
999-0028
|
Washer 5/16 split lock plain finish |
$0.99
|
2 |
|
ships same day |
023 |
173-3912
|
Washer .344 x .066 flat head (OBSOLETE) |
$0.99
|
2 |
|
usually ships 11-15 days |
024 |
999-0659
|
Washer 3/8 medium split lock stainless steel |
$0.39
|
8 |
|
ships same day |
025 |
189-0326
|
Bumper wheel |
$29.04
|
1 |
|
usually ships 12-17 days |
026 |
N/A
|
Not available |
Call for price
|
1 |
Scrub head weldment |
usually ships 3-26 days |
N/S |
173-1198
|
Brush motor 53175 Brush set for IMP |
$272.80
|
|
|
usually ships 1-5 days |