| # | Part | Description | Price | Req | Notes | Availability | 
|---|
          
            
            
                
                  
                  
                  
				       
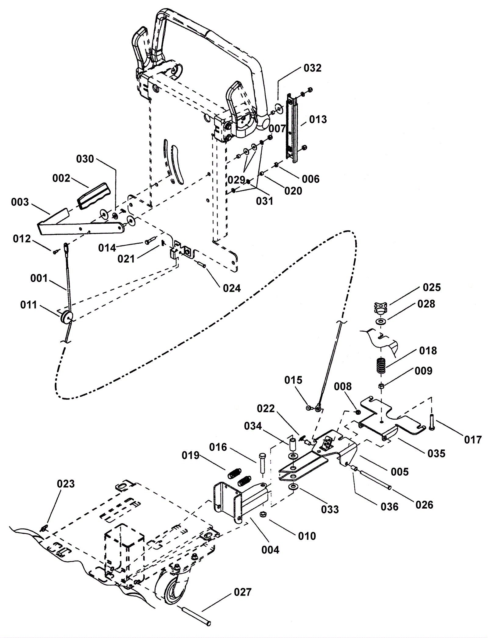
				      001 | 173-1649 | Cable | $78.28 | 1 |  | usually ships 1-5 days | 002 | 173-1169 | Flat bar grip 3/16 x 1 inch | $9.71 | 1 |  | usually ships 1-5 days | 003 | 189-0345 | Squeegee lift lever | $124.30 | 1 |  | usually ships 11-15 days | 004 | 173-1651 | Squeegee lift linkage | $257.18 | 1 |  | usually ships 1-5 days | 005 | 173-1652 | Squeegee pivot linkage (OBSOLETE) | $164.53 | 1 |  | usually ships 1-5 days | 006 | 999-0190 | Nut 1/4-20 hex plain finish | $0.99 | 1 |  | ships same day | 007 | 999-0152 | Nut 1/4-20 nylon insert lock zinc plated | $0.99 | 1 |  | ships same day | 009 | 173-3869 | Nut 3/8-16 hex nylock (OBSOLETE) | $1.03 | 1 |  | usually ships 11-15 days | 012 | 173-1038 | Pin Clevis 3/16 x 1/12 | $4.51 | 1 |  | usually ships 1-5 days | 013 | 189-0346 | Rail rachet (OBSOLETE) | $128.72 | 1 |  | usually ships 12-17 days | 015 | 173-1545 | Shoulder bolt | $30.95 | 1 |  | usually ships 11-15 days | 016 | 999-0378 | Bolt 1/2-13 x 2 1/2 hex head grade 5 zinc plated | $1.67 | 1 |  | ships same day | 017 | 173-3941 | Bolt 3/8-16 x 2 3/4 hex head tap | $3.63 | 1 |  | usually ships 1-5 days | 018 | 173-1656 | Compression spring | $36.01 | 1 |  | usually ships 11-15 days | 019 | 173-1657 | Extension spring | $41.07 | 2 |  | usually ships 1-5 days | 020 | 189-1008 | Tube | $8.99 | 3 |  | usually ships 1-5 days | 021 | 173-1130 | Cotter ring | $3.10 | 2 |  | ships same day | 022 | 173-1593 | Cotter ring (OBSOLETE) | $0.99 | 1 |  | usually ships 11-15 days | 023 | 173-1659 | 1/2 inch cotter ring (OBSOLETE) | $2.90 | 1 |  | usually ships 11-15 days | 024 | 173-1660 | clevis pin | $3.30 | 1 |  | usually ships 1-5 days | 026 | 173-1596 | Clevis pin | $20.96 | 1 |  | usually ships 11-15 days | 027 | 173-1662 | Clevis pin 1/2 X 4 4/5 | $20.39 | 1 |  | usually ships 1-5 days | 028 | 173-2548 | Washer M10 x 30mm plated | $4.30 | 1 |  | usually ships 11-15 days | 029 | 999-1007 | Washer 3/8 x 1/16 flat nylon | $0.99 | 2 |  | ships same day | 030 | 999-1261 | Washer M6 flat stainless steel | $0.99 | 1 |  | ships same day | 031 | 173-3943 | Washer 17/64 flat | $0.99 | 4 |  | usually ships 1-5 days | 032 | 173-3944 | Washer 2/5 nylon | $2.33 | 3 |  | usually ships 1-5 days | 033 | 189-1603 | Washer .781id fiberglide | Call for price | 2 |  | usually ships 1-5 days | 035 | 173-1664 | Squeegee mount bracket | $166.10 | 1 |  | usually ships 1-5 days | 036 | 173-1665 | Flanged bearing | $6.53 | 2 |  | usually ships 11-15 days |