| # | Part | Description | Price | Req | Notes | Availability |
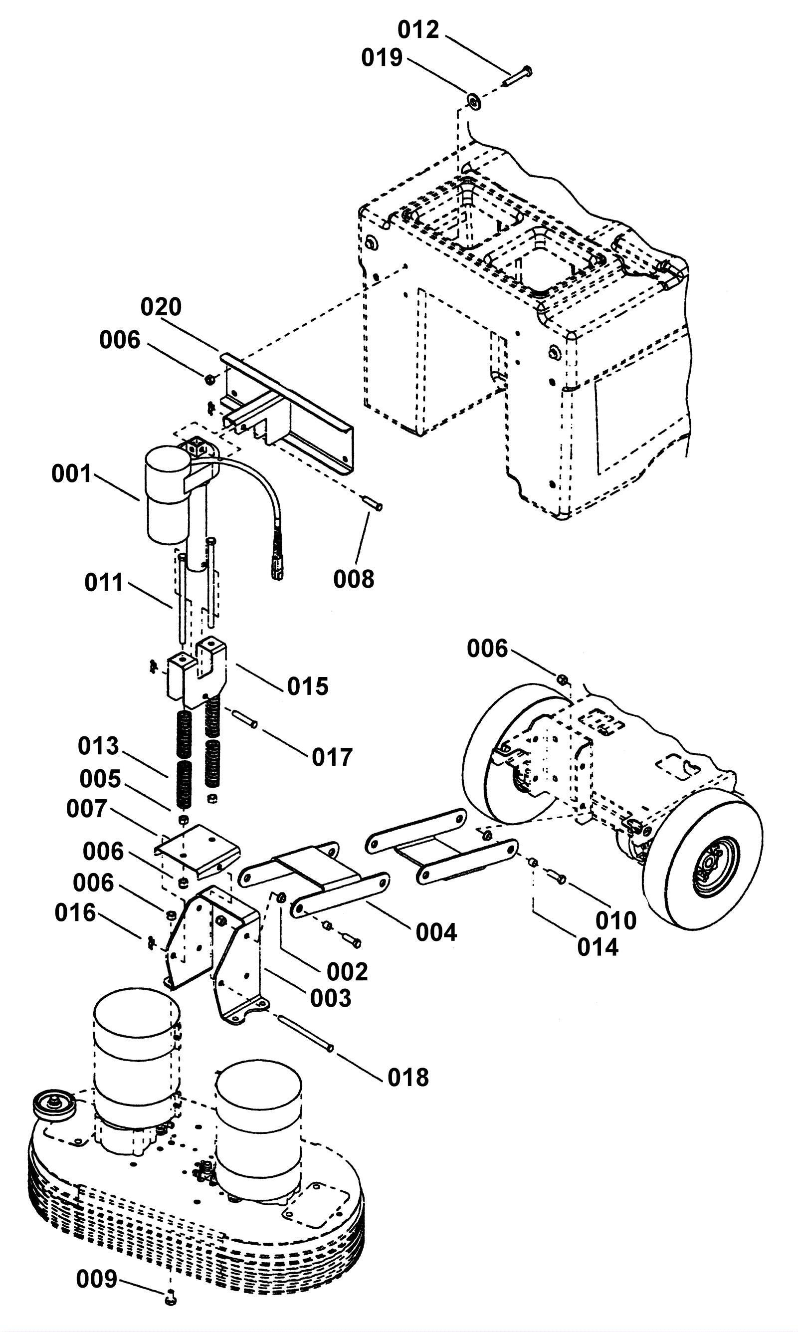
001 |
189-0980
|
Actuator |
$981.84
|
1 |
|
usually ships 1-5 days |
003 |
173-1585
|
scrub head mount bracket |
$140.06
|
1 |
|
usually ships 1-5 days |
004 |
173-1586
|
scrub deck linkage |
$96.25
|
2 |
|
usually ships 1-5 days |
006 |
173-3869
|
Nut 3/8-16 hex nylock (OBSOLETE) |
$1.03
|
18 |
|
usually ships 11-15 days |
007 |
173-1587
|
spring support plate |
$45.10
|
1 |
|
usually ships 1-5 days |
008 |
173-1588
|
Clevis pin |
$2.31
|
1 |
|
usually ships 1-5 days |
009 |
999-0038
|
Bolt 3/8-16 x 1 hex head grade 5 zinc plated |
$1.87
|
4 |
|
ships same day |
010 |
999-0039
|
Bolt 3/8-16 x 1 1/4 hex head grade 5 zinc plated |
$0.99
|
8 |
|
ships same day |
011 |
999-0922
|
Bolt 3/8-16 x 7 1/2 hex head grade 5 plain finish |
$3.17
|
2 |
|
usually ships 1-5 days |
012 |
189-1591
|
Screw 3/8-16 x 1 1/4 hex head machine stainless steel |
$4.52
|
4 |
|
usually ships 1-5 days |
013 |
173-1590
|
compressed spring |
$19.29
|
4 |
|
usually ships 1-5 days |
014 |
173-1591
|
Spacer |
$48.38
|
8 |
|
usually ships 1-5 days |
015 |
173-1592
|
spring retainer plate |
$123.20
|
1 |
|
usually ships 1-5 days |
016 |
173-1593
|
Cotter ring (OBSOLETE) |
$0.99
|
3 |
|
usually ships 11-15 days |
017 |
173-1595
|
Clevis pin (OBSOLETE) |
$4.88
|
1 |
|
usually ships 10-13 days |
018 |
173-1596
|
Clevis pin |
$20.96
|
1 |
|
usually ships 11-15 days |
019 |
189-1562
|
Washer 3/8 x 3/4 sealing outer diameter |
$14.32
|
4 |
|
usually ships 12-17 days |
020 |
189-0992
|
Actuator mount weldment |
$27.74
|
1 |
|
usually ships 1-5 days |