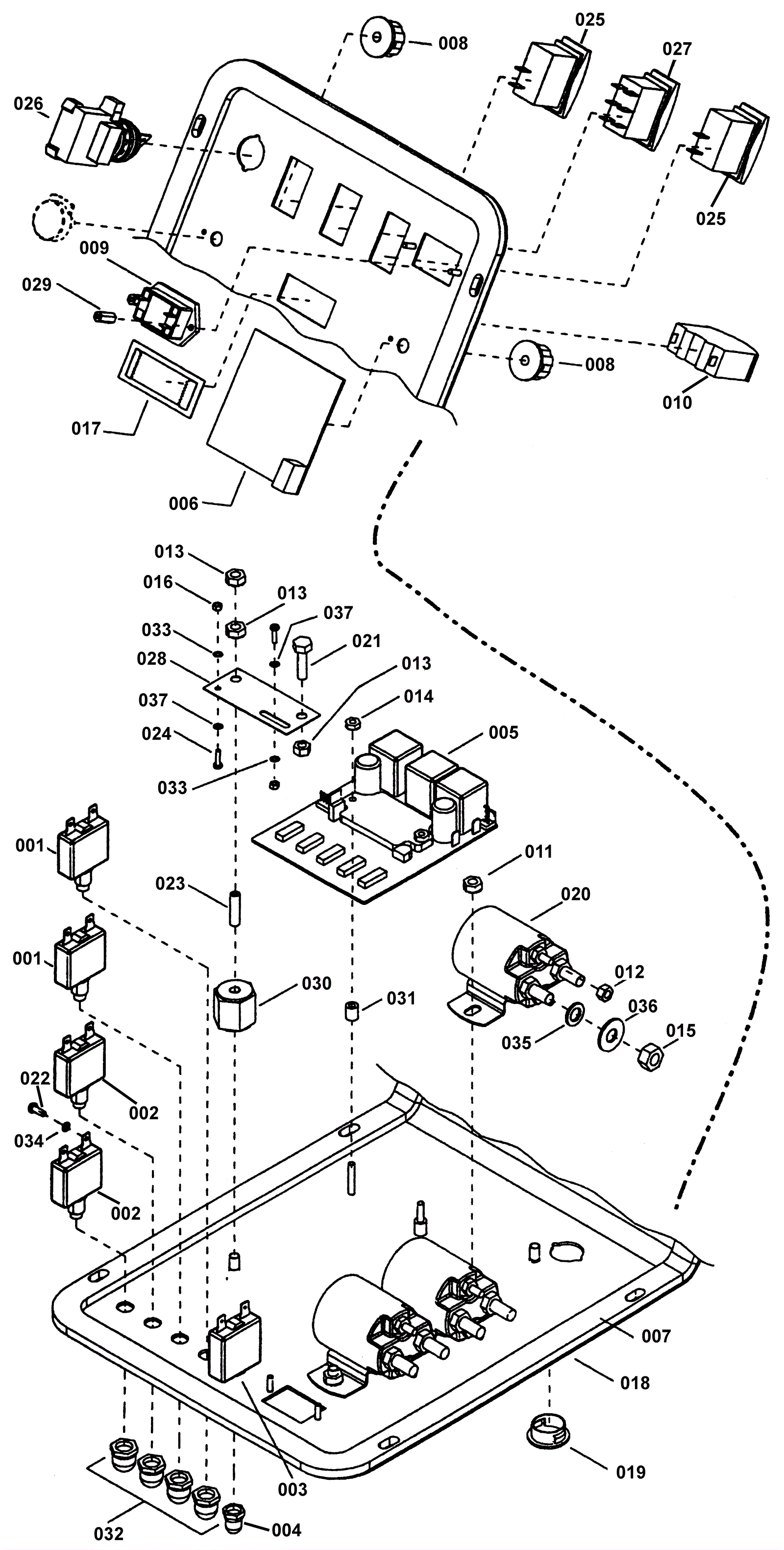
| # | Part | Description | Price | Req | Notes | Availability |
001 |
991-1629
|
35amp circuit breaker |
$12.32
|
2 |
|
ships same day |
002 |
991-1632
|
25amp circuit breaker |
$10.55
|
2 |
|
ships same day |
003 |
991-1624
|
3amp circuit breaker |
$24.32
|
1 |
|
usually ships 10-11 days |
004 |
189-0312
|
3/8 inch circuit breaker boot |
$59.75
|
1 |
|
usually ships 12-17 days |
005 |
189-0313
|
24V motor controller |
$1,113.88
|
1 |
|
usually ships 12-17 days |
006 |
189-0314
|
Solution float circuit board |
$501.07
|
1 |
|
usually ships 1-5 days |
007 |
173-1508
|
electrical panel gasket |
$12.76
|
1 |
|
usually ships 1-5 days |
008 |
189-0315
|
Knob with set screw |
$69.54
|
2 |
|
usually ships 12-17 days |
009 |
189-0316
|
24V battery charger meter |
$336.88
|
1 |
|
usually ships 12-17 days |
010 |
189-0317
|
50amp meter |
$369.07
|
1 |
|
usually ships 12-17 days |
011 |
999-0152
|
Nut 1/4-20 nylon insert lock zinc plated |
$0.99
|
4 |
|
ships same day |
012 |
173-2472
|
Nut 10-32 with star washer |
$0.99
|
6 |
|
usually ships 1-5 days |
013 |
999-1466
|
Nut 1/4-20 lock with external toothed lockwasher SS |
$0.99
|
3 |
|
ships same day |
016 |
173-3909
|
Nut 6-32 hex brass |
$0.99
|
2 |
|
usually ships 1-5 days |
017 |
173-1164
|
Meter retaining plate |
$4.81
|
1 |
|
usually ships 1-5 days |
018 |
173-1513
|
clectric panel plate (OBSOLETE) |
$107.28
|
1 |
|
usually ships 1-5 days |
019 |
173-1514
|
Hole plug |
$5.43
|
1 |
|
usually ships 1-5 days |
020 |
189-0318
|
24V solenoid 4 post (2 large 2 small) |
$147.66
|
3 |
|
usually ships 1-5 days |
021 |
999-1032
|
Screw 1/4-20 x 5/8 hex head stainless steel |
$0.99
|
1 |
|
ships same day |
022 |
999-0336
|
Screw 6-32 x 3/8 pan head phillips stainless steel |
$0.99
|
8 |
|
ships same day |
023 |
189-1558
|
Screw 1/4-20 x 1 1/4 left set |
Call for price
|
1 |
|
usually ships 1-5 days |
024 |
999-0147
|
Screw 6-32 x 3/8 round head slotted zinc plated |
$0.99
|
2 |
|
ships same day |
025 |
189-0319
|
2 position rocker switch |
$48.61
|
2 |
|
usually ships 1-5 days |
026a |
189-0320
|
Key switch |
$55.55
|
1 |
|
usually ships 11-15 days |
026b |
189-3050
|
Key only (package of 2) |
$50.82
|
1 |
|
usually ships 1-5 days |
026c |
173-3958
|
Key (pkg of 2) |
$31.90
|
|
|
usually ships 11-15 days |
027 |
189-0321
|
3 position rocker switch |
$65.91
|
1 |
|
usually ships 11-15 days |
028 |
189-0957
|
25 Amp shunt |
Call for price
|
1 |
|
usually ships 1-5 days |
029 |
173-1520
|
Nylon standoff |
$7.12
|
2 |
|
ships same day |
030 |
173-1145
|
Insulated stand-off |
$22.55
|
1 |
|
usually ships 11-15 days |
031 |
173-1521
|
Spacer |
$7.59
|
2 |
|
usually ships 1-5 days |
032 |
189-0961
|
3/8 Circuit breaker boot |
Call for price
|
4 |
|
usually ships 1-5 days |
033 |
999-0148
|
Washer #6 external star lock zinc plated |
$0.99
|
2 |
|
ships same day |
034 |
999-0051
|
Washer #6 medium split lock |
$0.99
|
8 |
|
ships same day |
035 |
173-3912
|
Washer .344 x .066 flat head (OBSOLETE) |
$0.99
|
6 |
|
usually ships 11-15 days |
036 |
999-0548
|
Washer 5/16 external star lock stainless steel |
$0.99
|
6 |
|
ships same day |
037 |
999-1158
|
Washer #6 flat stainless steel |
$0.99
|
2 |
|
ships same day |
N/S |
173-1523
|
Potentiometer |
$27.78
|
1 |
|
usually ships 11-15 days |