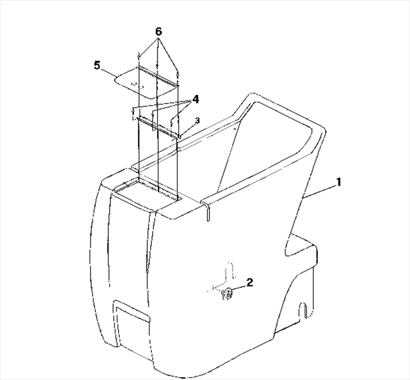
E1500
Solution Tank Assembly
Click to enlarge
#
Part
Description
Price
Req
Notes
Availability
1
186-0697
Solution tank
Call for price
1
usually ships 16-19 days
2
186-0702
Fitting (OBSOLETE)
Call for price
1
usually ships 16-19 days
3
186-0698
Hinge
Call for price
1
usually ships 16-19 days
4
186-0699
Rivet
Call for price
3
usually ships 16-19 days
5
186-0700
Solution tank lid
Call for price
1
usually ships 16-19 days
6
186-0701
Rivet
Call for price
3
usually ships 16-19 days