| # | Part | Description | Price | Req | Notes | Availability |
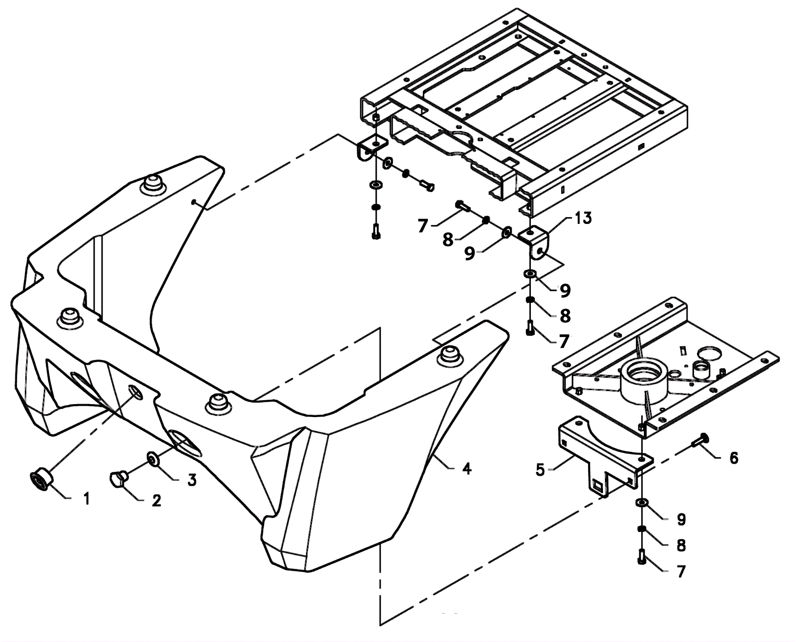
1a |
183-7006
|
Spot light with terminals (OBSOLETE) |
Call for price
|
1 |
|
usually ships 14-19 days |
1b |
183-7113
|
LED (blue) (obsolete) |
Call for price
|
1 |
|
usually ships 14-19 days |
2 |
183-9215
|
Bushing |
$23.47
|
2 |
|
usually ships 14-19 days |
3 |
183-9214
|
Conical washer |
$1.54
|
2 |
|
usually ships 14-19 days |
4 |
183-7114
|
Lower cover (obsolete) |
Call for price
|
1 |
|
usually ships 14-19 days |
5 |
183-7115
|
Front support cover (OBSOLETE) |
Call for price
|
1 |
|
usually ships 14-19 days |
6 |
183-5138
|
Screw M8 x 35mm (OBSOLETE) |
Call for price
|
2 |
|
usually ships 14-19 days |
7 |
183-2584
|
Screw M8 x 25mm |
$1.54
|
6 |
|
usually ships 14-19 days |
8 |
183-8286
|
Washer INOX |
$1.54
|
6 |
|
usually ships 14-19 days |
9 |
999-9097
|
Washer M8 flat stainless steel |
$0.99
|
6 |
|
ships same day |
13 |
183-7116
|
Side support cover (obsolete) |
Call for price
|
2 |
|
usually ships 14-19 days |