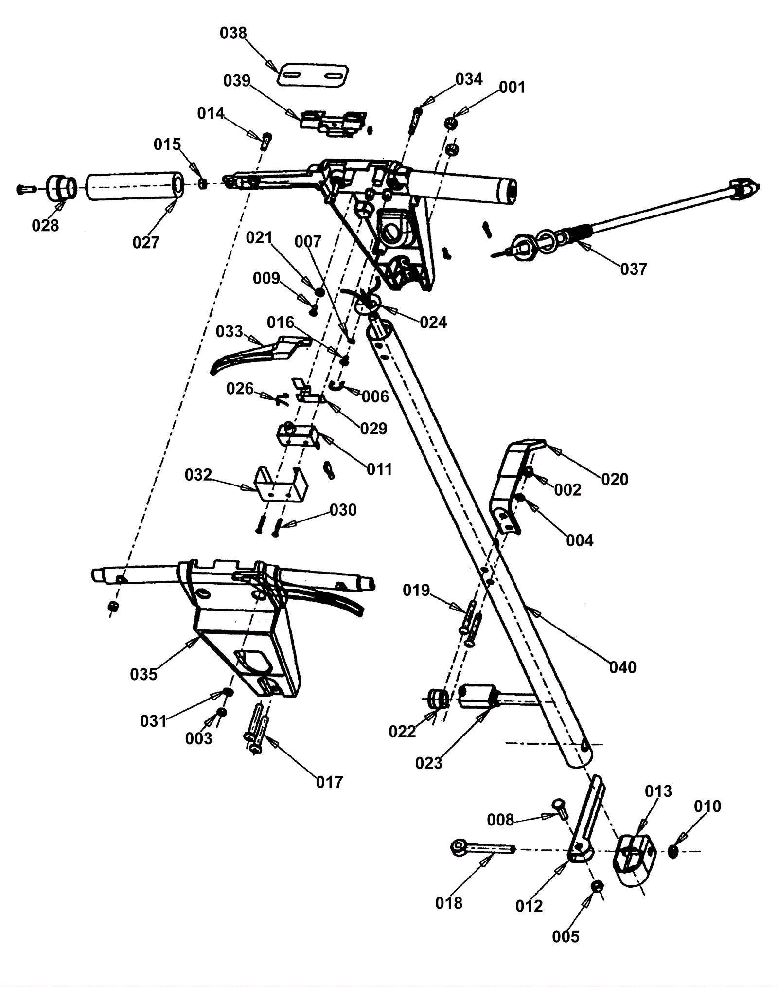
ES8684
Handle Assembly
Click to enlarge
#
Part
Description
Price
Req
Notes
Availability
026
183-7407
Lever lock return spring
$4.97
usually ships 14-19 days
029
183-7552
Spring (OBSOLETE)
$14.84
usually ships 14-19 days
032
N/A
Not available
Call for price
(Switch cover)
usually ships 3-26 days