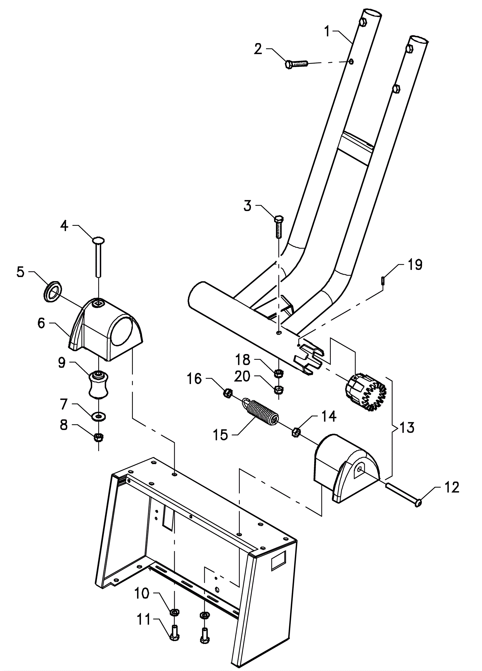
| # | Part | Description | Price | Req | Notes | Availability |
1 |
183-2635
|
Pipe handlebar support |
$247.24
|
1 |
|
usually ships 14-19 days |
2a |
183-8341
|
Screw |
$3.30
|
2 |
(after SN 16001418) |
usually ships 14-19 days |
2b |
183-8388
|
Screw |
$1.54
|
4 |
(up to SN 16001418) |
usually ships 14-19 days |
3 |
183-2636
|
Screw M6 x 50mm |
$1.54
|
1 |
|
usually ships 14-19 days |
4 |
183-2637
|
Screw M6 x 60mm |
$1.54
|
1 |
|
usually ships 14-19 days |
5 |
183-2638
|
Cover |
$1.98
|
1 |
|
usually ships 14-19 days |
6 |
183-2639
|
Right hand handle bar support |
$30.94
|
1 |
|
usually ships 14-19 days |
9 |
183-2640
|
Reel |
$17.70
|
1 |
|
usually ships 14-19 days |
10a |
183-2641
|
Washer (OBSOLETE) |
$1.30
|
8 |
(after SN 15003344) |
usually ships 14-19 days |
10b |
183-2539
|
Lock washer |
$1.54
|
8 |
(up to SN 15003344) |
usually ships 14-19 days |
12 |
183-2642
|
Screw M6 x 60mm |
$1.10
|
1 |
|
ships same day |
13 |
183-2643
|
Toothed support assembly |
$56.09
|
1 |
(includes 12) |
usually ships 14-19 days |
14 |
183-8378
|
Nut |
$1.54
|
1 |
|
usually ships 14-19 days |
15 |
183-2644
|
Traction spring |
$11.31
|
1 |
|
usually ships 14-19 days |
16 |
183-8256
|
Nut |
$1.54
|
1 |
|
usually ships 14-19 days |
19 |
183-2645
|
Spring pin |
$1.54
|
1 |
|
usually ships 14-19 days |
20 |
183-2646
|
Nut cover (OBSOLETE) |
$1.30
|
1 |
|
usually ships 14-19 days |