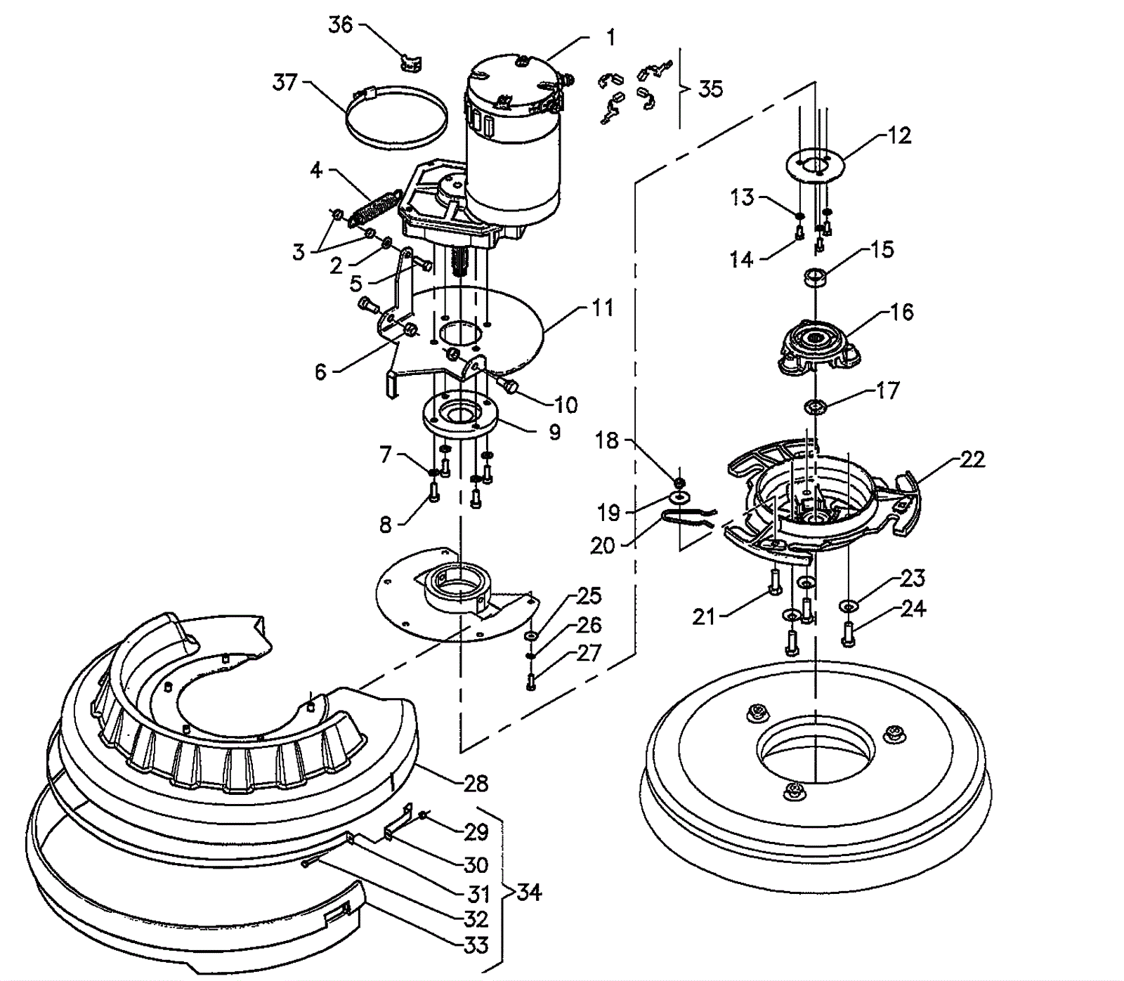
BD 17/6
Brush Base Assembly From SN 14002251
# | Part | Description | Price | Req | Notes | Availability |
1 |
183-3185
|
24V brush motor |
$1,558.07
|
1 |
|
usually ships 14-19 days |
2 |
183-8393
|
Washer |
$1.54
|
1 |
|
usually ships 14-19 days |
3 |
183-8256
|
Nut |
$1.54
|
2 |
|
usually ships 14-19 days |
4 |
183-3171
|
Spring |
Call for price
|
1 |
|
usually ships 14-19 days |
5 |
183-8512
|
Screw M6 x 25 |
$1.54
|
1 |
|
usually ships 14-19 days |
8 |
183-3172
|
Screw M6 x 16mm |
$1.54
|
4 |
|
usually ships 14-19 days |
9 |
183-3173
|
Joint flange |
$125.41
|
1 |
|
usually ships 14-19 days |
10 |
183-3174
|
Stud bolt |
Call for price
|
2 |
|
usually ships 14-19 days |
11 |
183-3175
|
Brush base |
$50.47
|
1 |
|
usually ships 14-19 days |
12 |
183-3176
|
Stop ring |
$5.59
|
1 |
|
usually ships 14-19 days |
13 |
183-2578
|
Lock washer |
$1.54
|
3 |
|
usually ships 14-19 days |
14 |
183-2581
|
Screw M5 x 12mm |
$1.54
|
3 |
|
usually ships 14-19 days |
15 |
183-2574
|
Spacer |
$9.38
|
1 |
|
usually ships 14-19 days |
16 |
183-2575
|
Flange |
$29.71
|
1 |
|
usually ships 14-19 days |
17 |
183-3177
|
Blocking ring nut |
$9.41
|
1 |
|
usually ships 14-19 days |
18 |
183-8271
|
Nut INOX |
$1.54
|
1 |
|
usually ships 14-19 days |
20 |
183-2490
|
Brush block spring |
$6.48
|
1 |
|
usually ships 14-19 days |
21 |
183-2583
|
Screw M6 x 16mm INOX |
$1.54
|
1 |
|
usually ships 14-19 days |
22 |
183-4721
|
Clutch plate |
$35.20
|
1 |
|
usually ships 14-19 days |
23 |
183-8415
|
Conical washer |
$1.54
|
3 |
|
usually ships 14-19 days |
24 |
183-2584
|
Screw M8 x 25mm |
$1.54
|
3 |
|
usually ships 14-19 days |
25 |
183-2580
|
Washer INOX |
$1.54
|
5 |
|
usually ships 14-19 days |
26 |
183-2578
|
Lock washer |
$1.54
|
5 |
|
usually ships 14-19 days |
27 |
183-3179
|
Screw M5 x 16mm |
$1.54
|
5 |
|
usually ships 14-19 days |
28 |
183-3180
|
Base Cover |
$233.82
|
1 |
|
usually ships 14-19 days |
29 |
183-2590
|
Nut |
$1.54
|
1 |
|
usually ships 14-19 days |
30 |
183-3181
|
Short blade splash guard |
$24.71
|
1 |
|
usually ships 14-19 days |
31 |
183-3182
|
Long blade splash guard |
$27.23
|
1 |
|
usually ships 14-19 days |
32 |
183-2588
|
Screw M4 x 20mm |
$1.54
|
1 |
|
usually ships 14-19 days |
33 |
183-3183
|
Splash guard |
$42.15
|
1 |
|
usually ships 14-19 days |
34 |
183-3184
|
Splash guard assembly |
$139.69
|
1 |
(includes 29-33) |
usually ships 14-19 days |
35 |
183-3187
|
Carbon brushes (pkg of 4) |
Call for price
|
1 |
|
usually ships 14-19 days |
36 |
183-8454
|
Saddle support |
$1.54
|
1 |
|
usually ships 14-19 days |
37 |
183-3188
|
Hose clamp |
$15.63
|
1 |
|
usually ships 14-19 days |