| # | Part | Description | Price | Req | Notes | Availability |
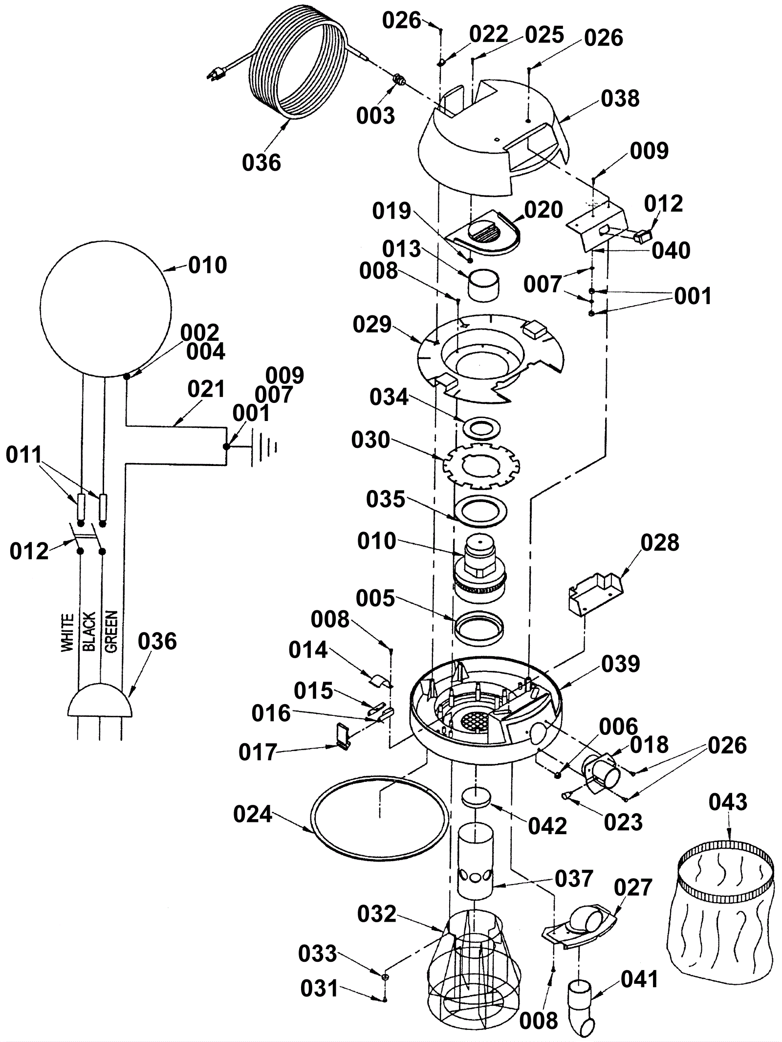
005 |
183-0915
|
Gasket |
$8.87
|
1 |
|
usually ships 1-5 days |
010 |
183-7440
|
Vacuum motor |
$242.17
|
1 |
|
usually ships 1-5 days |
024 |
183-0913
|
Gasket |
$4.71
|
1 |
|
ships same day |
035 |
183-2153
|
Vacuum motor gasket |
$6.75
|
1 |
|
usually ships 1-5 days |
036 |
183-4616
|
115V power cord |
$151.81
|
1 |
|
usually ships 1-5 days |
043 |
183-2186
|
Cloth filter bag (OBSOLETE) |
$25.39
|
1 |
|
usually ships 14-19 days |