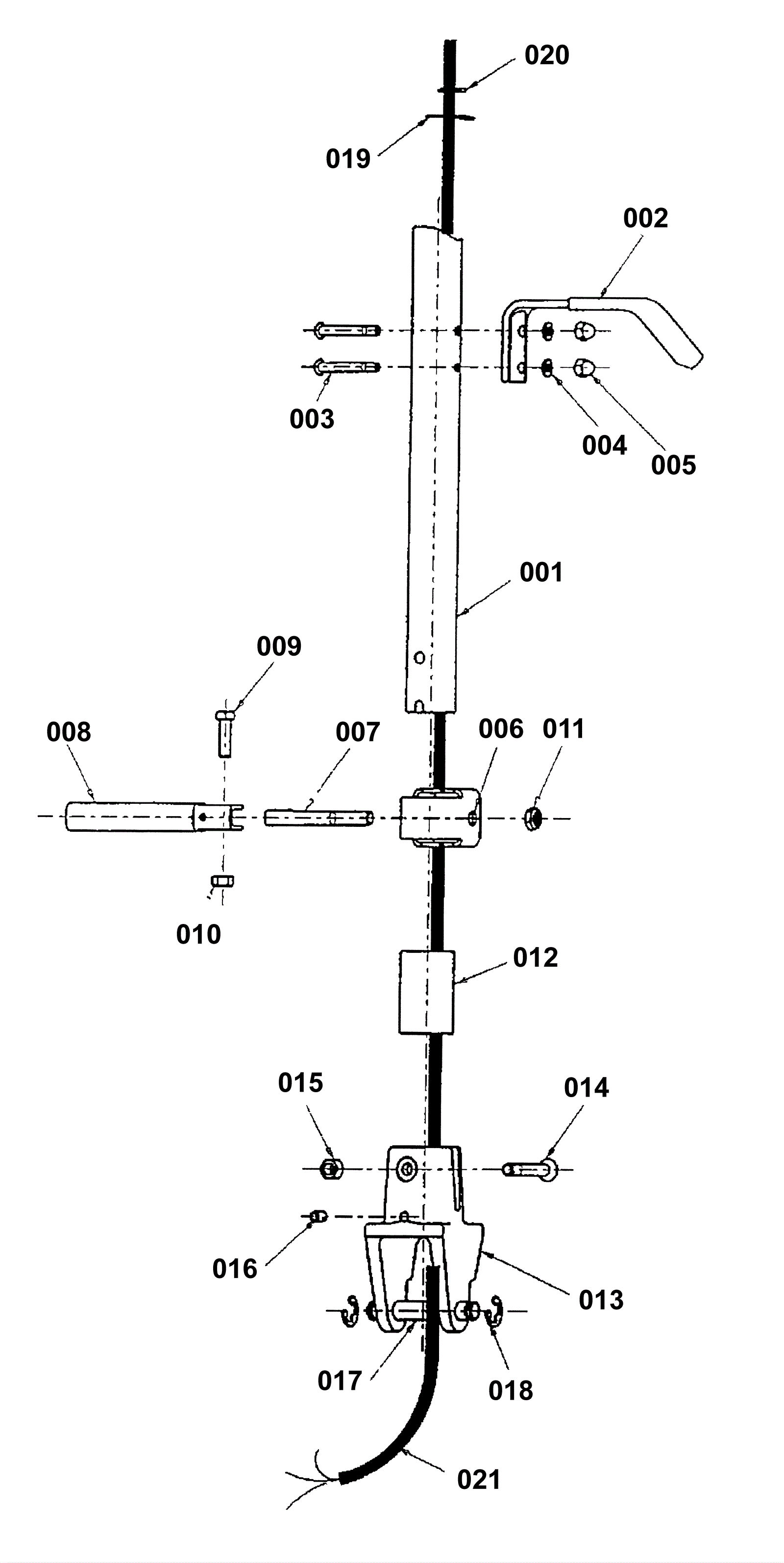
Lower Handle Assembly Series K
Click to enlarge