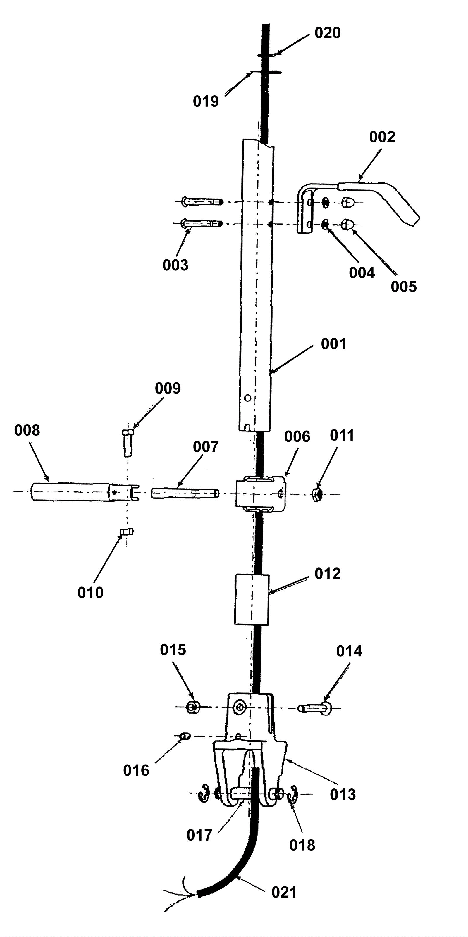
Lower Handle Assembly Series H
Click to enlarge