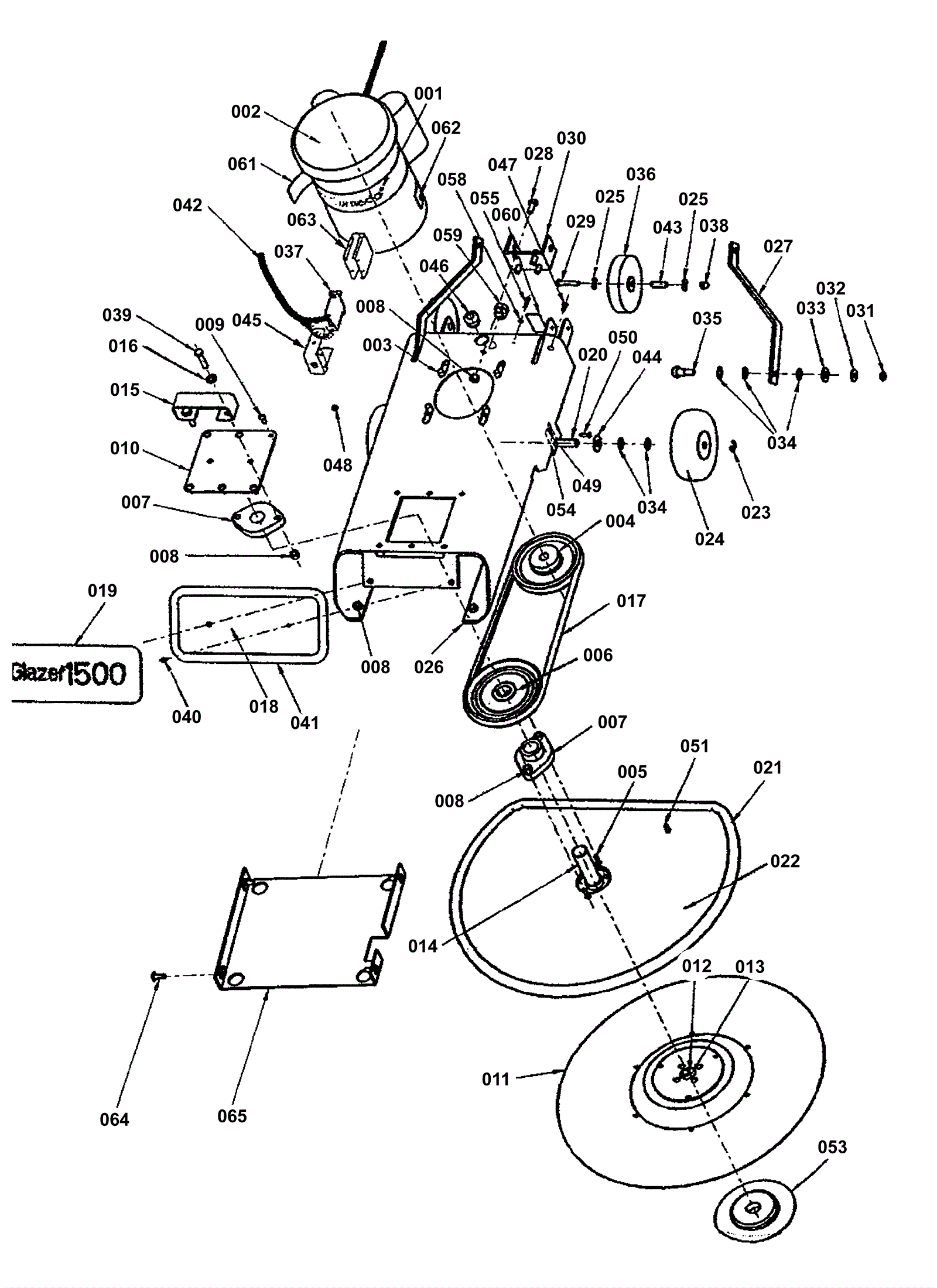
GLAZER 1500
Base Assembly Series H
# | Part | Description | Price | Req | Notes | Availability |
011 |
183-0577
|
Pad driver assembly |
$253.00
|
1 |
|
usually ships 14-19 days |
042 |
183-0865
|
Cable assembly |
$77.07
|
|
|
usually ships 1-5 days |
053 |
183-7385
|
Pad retainer |
$46.68
|
1 |
|
usually ships 1-5 days |