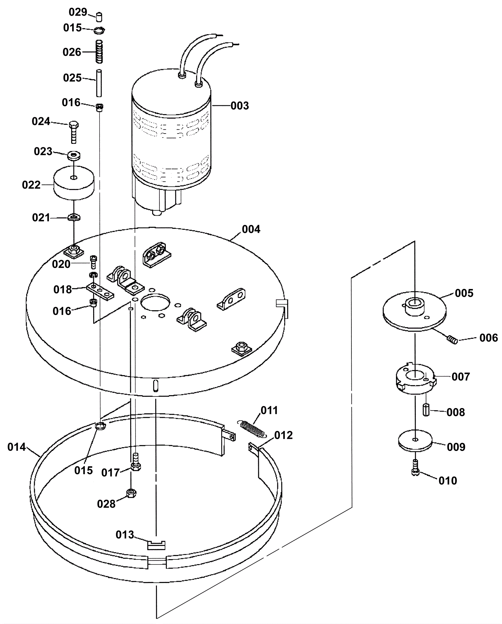
Brush Motor and Cover Assembly
Click to enlarge