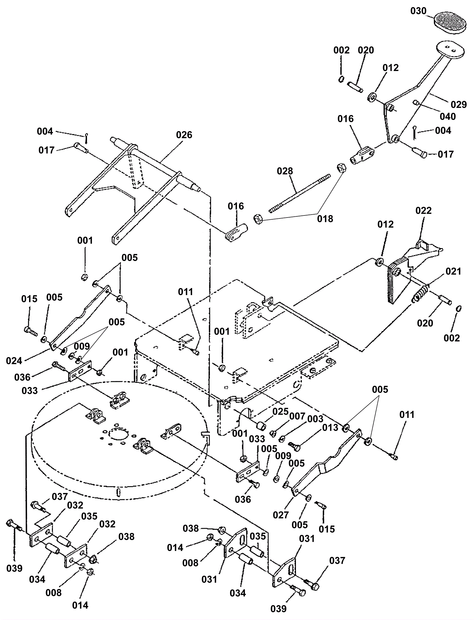
Brush Lift Assembly
Click to enlarge