| # | Part | Description | Price | Req | Notes | Availability | 
          
            
            
                
                  
                  
                  
				       
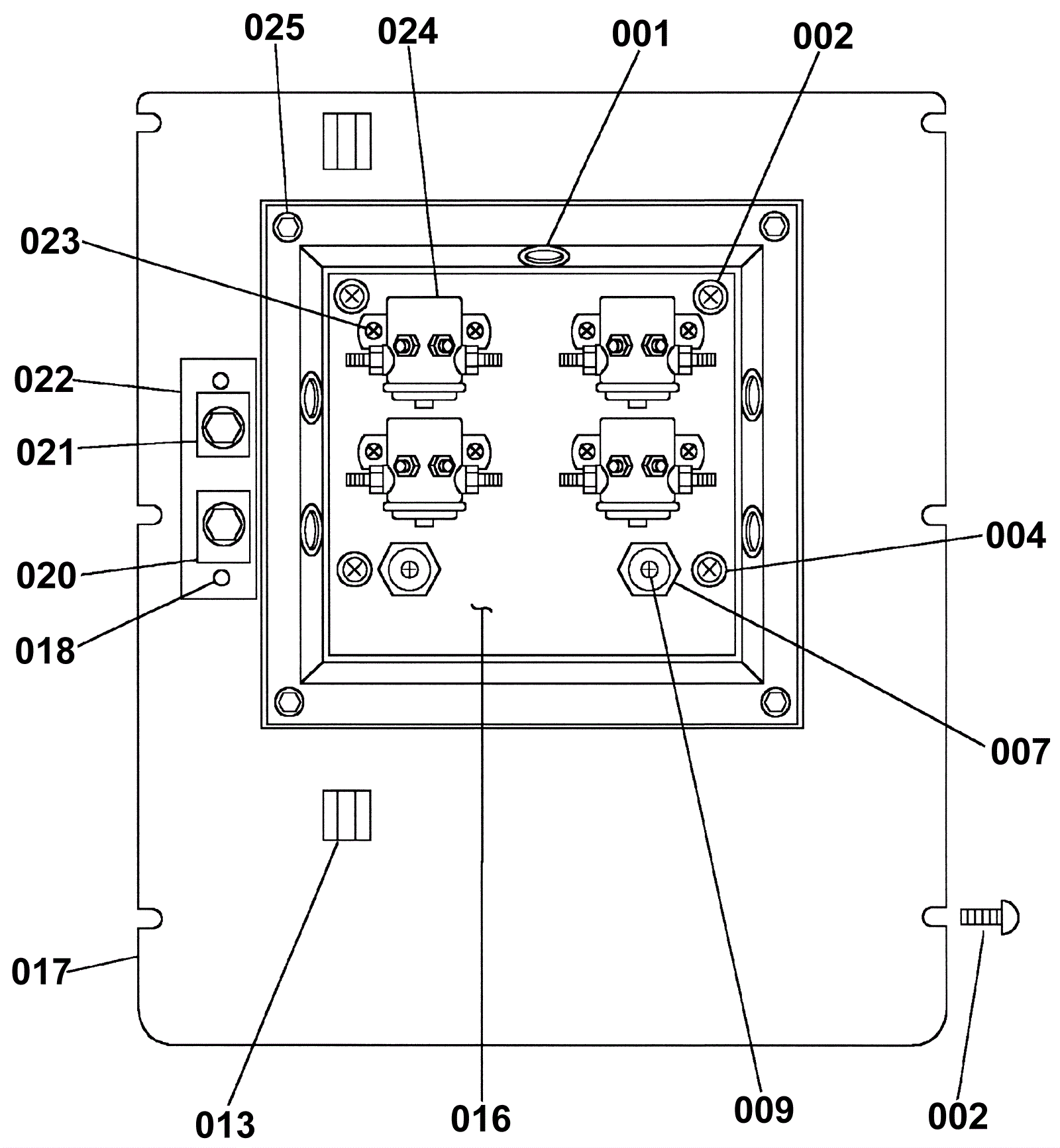
				      001 | 
				      
                
                
                  
                
                183-0791
				
               | 
				      Grommet 5/8 | 
				      
                $1.54
                | 
				      4 | 
				         | 
				      usually ships 1-5 days | 
				      
               
               
               
                
               
             
            
                
                  
                  
                  
				       
				      002 | 
				      
                
                
                  
                
                999-1172
				
               | 
				      Screw 1/4-20 x 1/2 truss head phillips zinc | 
				      
                $0.99
                | 
				      8 | 
				         | 
				      ships same day | 
				      
               
               
               
                
               
             
            
                
                  
                  
                  
				       
				      004a | 
				      
                
                
                  
                
                999-0016
				
               | 
				      Washer 1/4 flat plain finish | 
				      
                $0.99
                | 
				      4 | 
				         | 
				      ships same day | 
				      
               
               
               
                
               
             
            
                
                  
                  
                  
				       
				      004b | 
				      
                
                
                  
                
                999-1173
				
               | 
				      Screw 1/4-20 x 5/8 round head phillips zinc plated | 
				      
                $0.99
                | 
				      4 | 
				         | 
				      ships same day | 
				      
               
               
               
                
               
             
            
                
                  
                  
                  
				       
				      004c | 
				      
                
                
                  
                
                999-0060
				
               | 
				      Washer 1/4 split lock plain finish | 
				      
                $0.99
                | 
				      4 | 
				         | 
				      ships same day | 
				      
               
               
               
                
               
             
            
                
                  
                  
                  
				       
				      007 | 
				      
                
                
                  
                
                
				173-0792
               | 
				      Steel quick fastener | 
				      
                $1.43
                | 
				      2 | 
				         | 
				      usually ships 11-15 days | 
				      
               
               
               
                
               
             
            
                
                  
                  
                  
				       
				      009 | 
				      
                
                
                  
                
                999-0508
				
               | 
				      Screw 1/4-20 x 1/2 pan head phillips zinc plated | 
				      
                $0.99
                | 
				      12 | 
				         | 
				      ships same day | 
				      
               
               
               
                
               
             
            
                
                  
                  
                  
				       
				      013a | 
				      
                
                
                  
                
                999-0385
				
               | 
				      Screw 8-32 x 1/2 round head slotted zinc plated | 
				      
                $0.99
                | 
				      2 | 
				         | 
				      ships same day | 
				      
               
               
               
                
               
             
            
                
                  
                  
                  
				       
				      013b | 
				      
                
                
                  
                
                999-0077
				
               | 
				      Nut 8-32 k-lock zinc plated | 
				      
                $0.99
                | 
				      2 | 
				         | 
				      ships same day | 
				      
               
               
               
                
               
             
            
                
                  
                  
                  
				       
				      013c | 
				      
                
                
                  
                
                
				183-0512
               | 
				      Clip | 
				      
                $5.47
                | 
				      1 | 
				         | 
				      usually ships 14-19 days | 
				      
               
               
               
                
               
             
            
                
                  
                  
                  
				       
				      016 | 
				      
                
                
                  
                
                183-0793
				
               | 
				      Relay mounting plate | 
				      
                $101.50
                | 
				      1 | 
				         | 
				      usually ships 1-5 days | 
				      
               
               
               
                
               
             
            
                
                  
                  
                  
				       
				      017 | 
				      
                
                
                  
                
                183-0794
				
               | 
				      Rear solution tank panel (Obsolete) | 
				      
                Call for price
                | 
				      1 | 
				         | 
				      usually ships 1-5 days | 
				      
               
               
               
                
               
             
            
                
                  
                  
                  
				       
				      018a | 
				      
                
                
                  
                
                999-1174
				
               | 
				      Screw 10-24 x 7/16 pan head phillips zinc plated | 
				      
                $0.99
                | 
				      2 | 
				         | 
				      ships same day | 
				      
               
               
               
                
               
             
            
                
                  
                  
                  
				       
				      018b | 
				      
                
                
                  
                
                999-1068
				
               | 
				      Nut 10-24 hex reversible lock zinc plated | 
				      
                $0.99
                | 
				      2 | 
				         | 
				      ships same day | 
				      
               
               
               
                
               
             
            
                
                  
                  
                  
				       
				      020 | 
				      
                
                
                  
                
                
				183-0059
               | 
				      25 amp circuit breaker | 
				      
                $41.32
                | 
				      1 | 
				         | 
				      usually ships 14-19 days | 
				      
               
               
               
                
               
             
            
                
                  
                  
                  
				       
				      021a | 
				      
                
                
                  
                
                
				183-0795
               | 
				      45amp circuit breaker (OBSOLETE) | 
				      
                $36.36
                | 
				      1 | 
				       (OEM)  | 
				      usually ships 15-28 days | 
				      
               
               
               
                
               
             
            
                
                  
                  
                  
				       
				      021b | 
				      
                
                
                  
                
                
				991-5159
               | 
				      45amp circuit breaker | 
				      
                $82.34
                | 
				      1 | 
				       (NON-OEM)  | 
				      usually ships 1-5 days | 
				      
               
               
               
                
               
             
            
                
                  
                  
                  
				       
				      022 | 
				      
                
                
                  
                
                183-0796
				
               | 
				      Circuit breaker mounting plate | 
				      
                $15.35
                | 
				      1 | 
				         | 
				      usually ships 1-5 days | 
				      
               
               
               
                
               
             
            
                
                  
                  
                  
				       
				      023a | 
				      
                
                
                  
                
                999-0508
				
               | 
				      Screw 1/4-20 x 1/2 pan head phillips zinc plated | 
				      
                $0.99
                | 
				      12 | 
				         | 
				      ships same day | 
				      
               
               
               
                
               
             
            
                
                  
                  
                  
				       
				      023b | 
				      
                
                
                  
                
                183-0797
				
               | 
				      Nut 1/4-20 retainer | 
				      
                $1.76
                | 
				      8 | 
				         | 
				      usually ships 1-5 days | 
				      
               
               
               
                
               
             
            
                
                  
                  
                  
				       
				      024 | 
				      
                
                
                  
                
                
				183-0560
               | 
				      24V relay (OBSOLETE) | 
				      
                $134.16
                | 
				      4 | 
				         | 
				      usually ships 14-19 days | 
				      
               
               
               
                
               
             
            
                
                  
                  
                  
				       
				      025 | 
				      
                
                
                  
                
                183-0798
				
               | 
				      Retaining access panel pin | 
				      
                $1.76
                | 
				      4 | 
				         | 
				      usually ships 1-5 days |