FLOORKEEPER EZ20
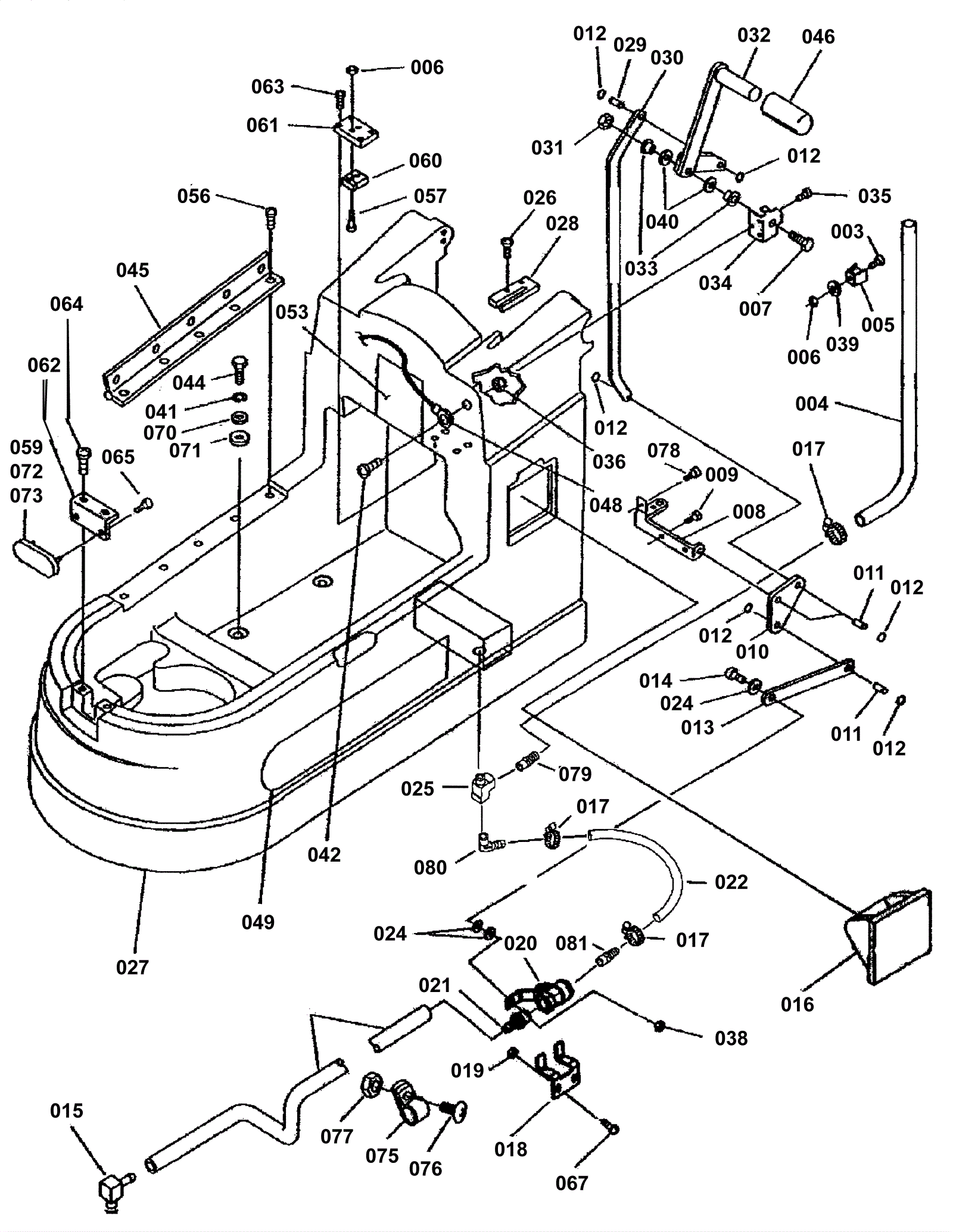
Solution Tank Assembly
Click to enlarge
#
Part
Description
Price
Req
Notes
Availability
N/S
183-0506
Solution filter (Obsolete)
$21.65
1
usually ships 14-19 days