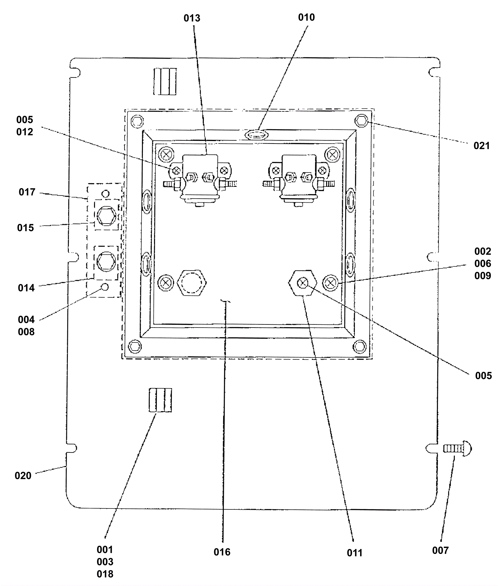
Rear Access Panel with Relays Assembly
Click to enlarge