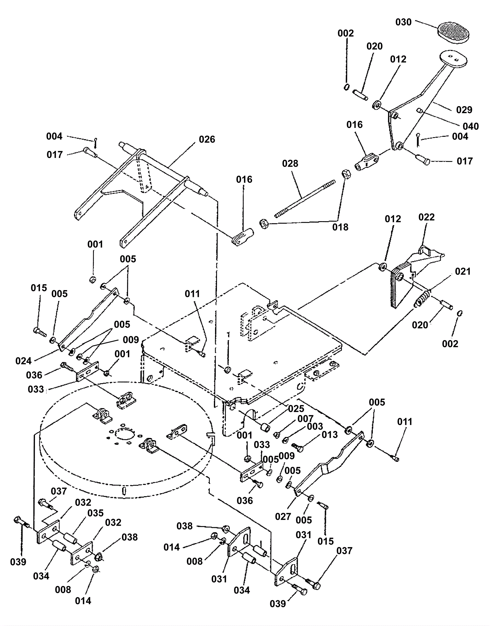
FLOORKEEPER EZ20
Brush Lift Assembly
Click to enlarge
#
Part
Description
Price
Req
Notes
Availability
021
183-0555
Extension spring
$2.86
usually ships 14-19 days