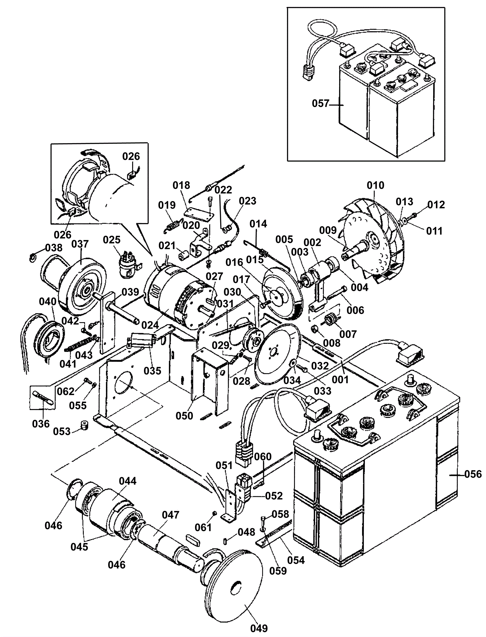
Internal Components 2
Click to enlarge