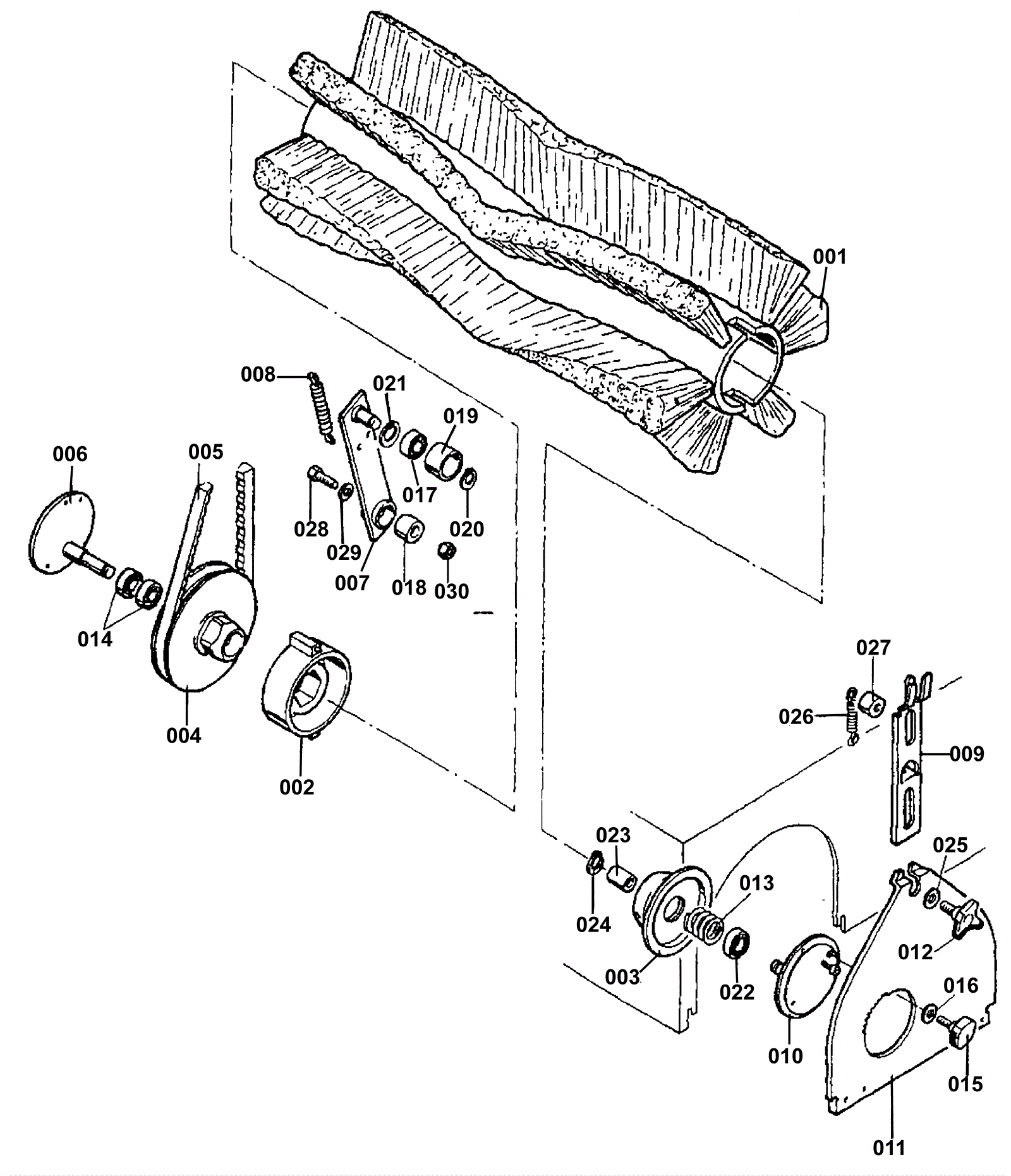
Main Brush Assembly
Click to enlarge