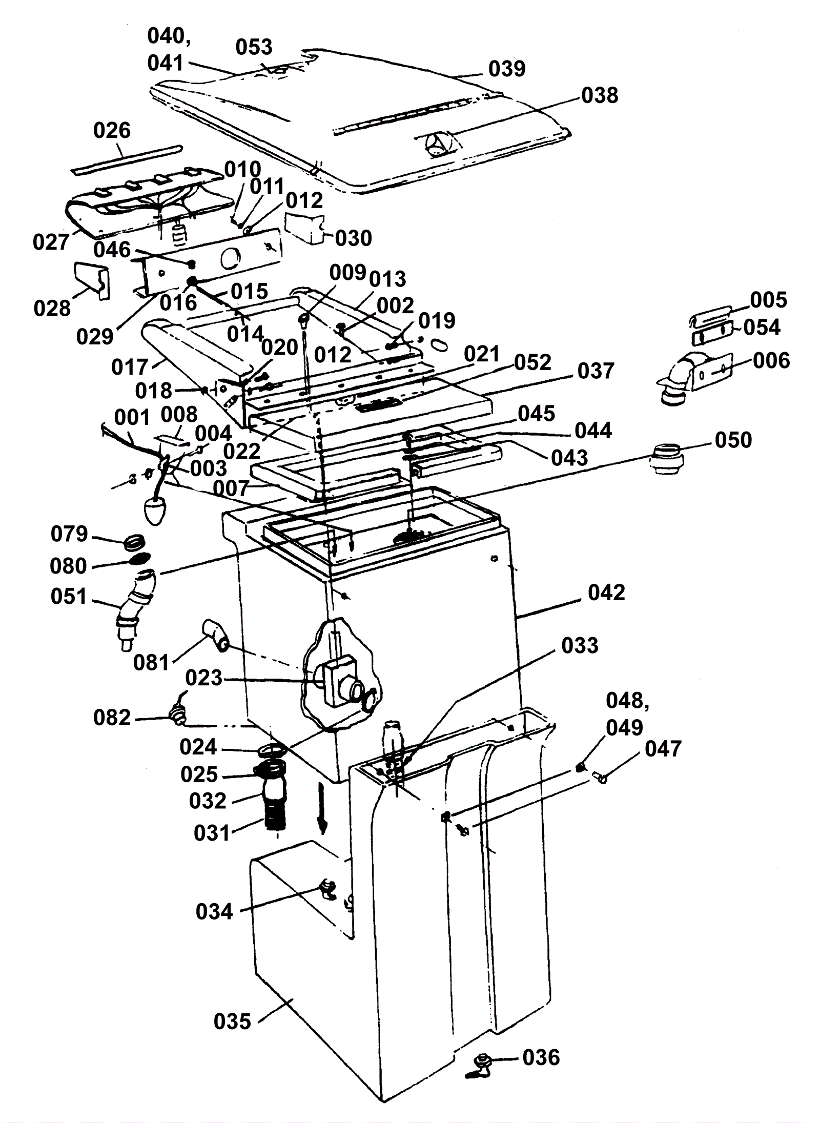
Upper Chassis Assembly
Click to enlarge