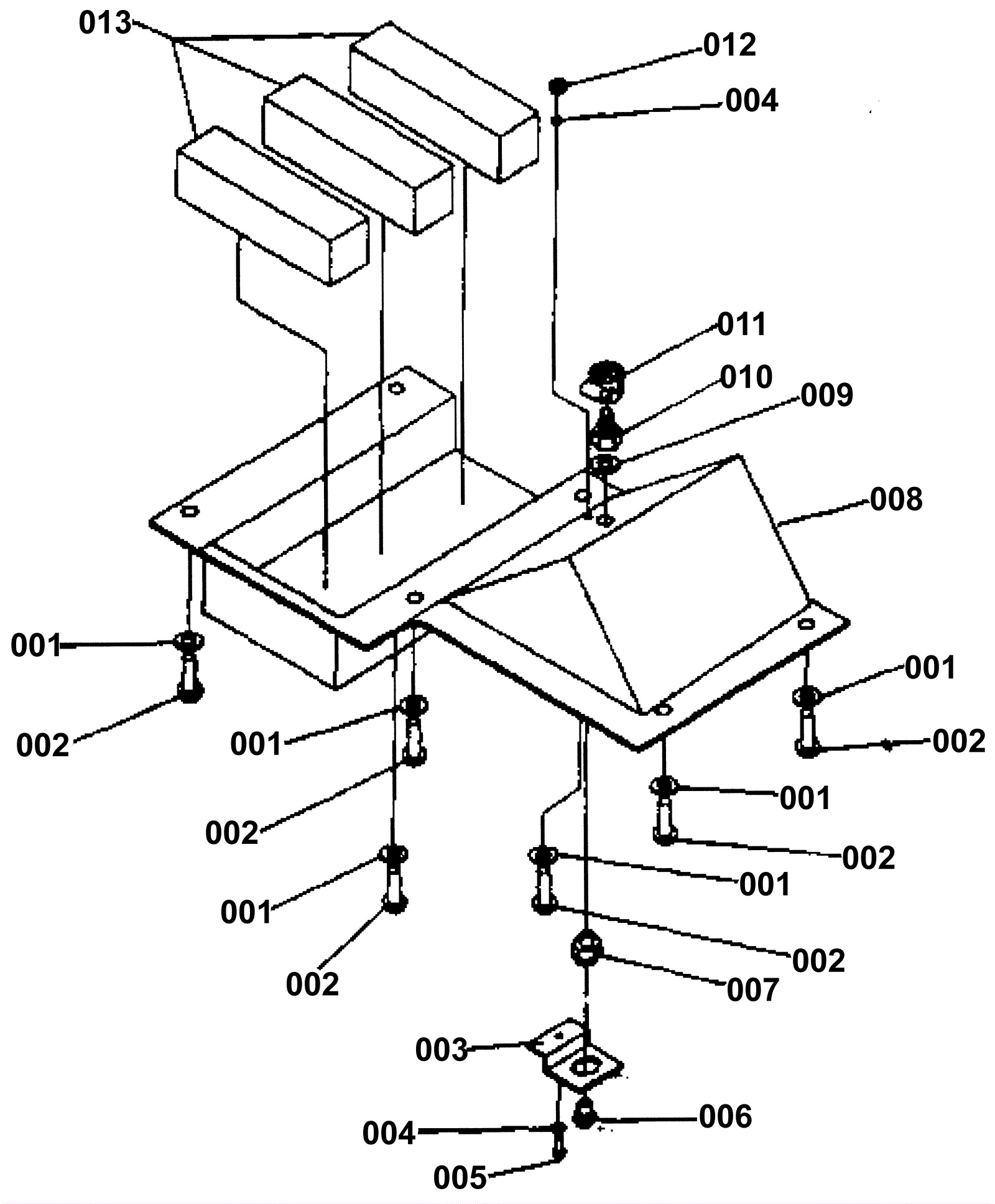
Nozzle Assembly
Click to enlarge