| # | Part | Description | Price | Req | Notes | Availability |
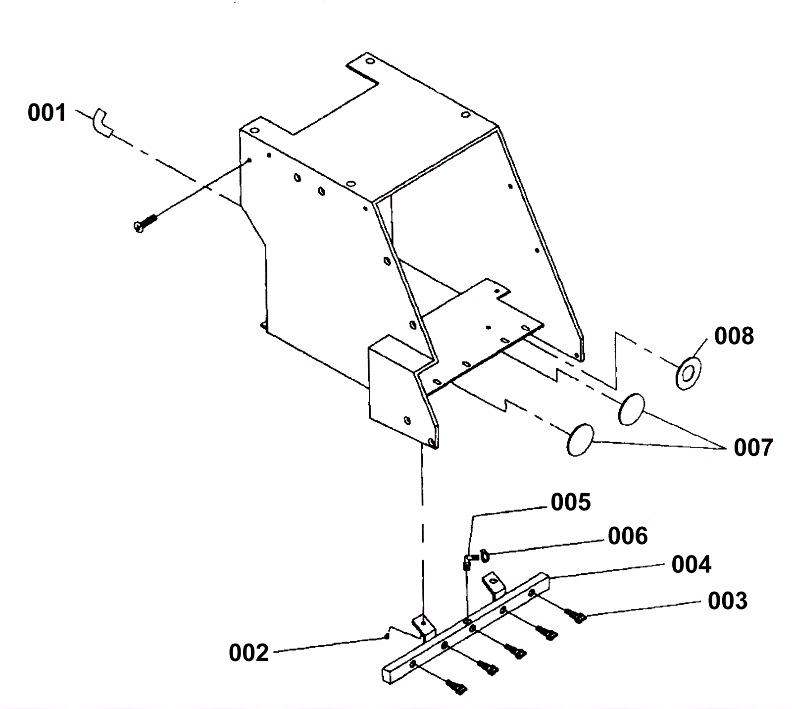
001 |
N/A
|
Not available |
Call for price
|
1 |
(Vinyl tubing) |
usually ships 3-26 days |
002 |
999-0332
|
Screw 10-24 x 5/8 pan head phillips stainless steel |
$1.54
|
2 |
|
ships same day |
003 |
N/A
|
Not available |
Call for price
|
5 |
(Spray nozzle)
|
usually ships 3-26 days |
004 |
N/A
|
Not available |
Call for price
|
1 |
(Solution tube assembly) |
usually ships 3-26 days |
005 |
N/A
|
Not available |
Call for price
|
1 |
(Brass elbow) |
usually ships 3-26 days |
006 |
997-2001
|
Hose clamp |
$2.42
|
1 |
|
ships same day |
007 |
N/A
|
Not available |
Call for price
|
2 |
Dome plug |
usually ships 3-26 days |
008 |
181-0397
|
Grommet |
$12.89
|
1 |
|
usually ships 1-5 days |