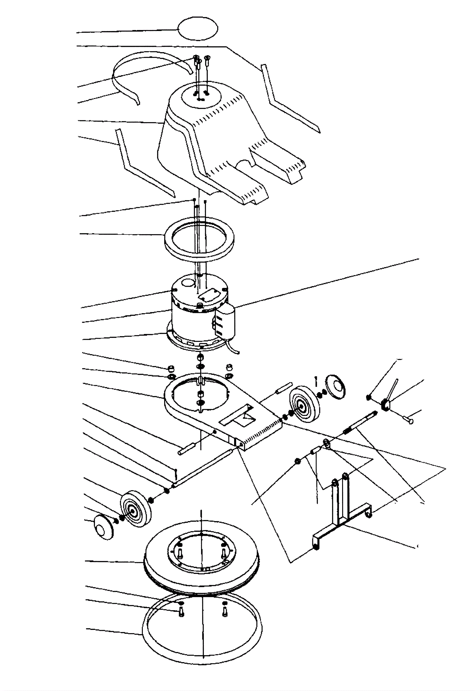
Motor and Gear Box Assembly
Click to enlarge