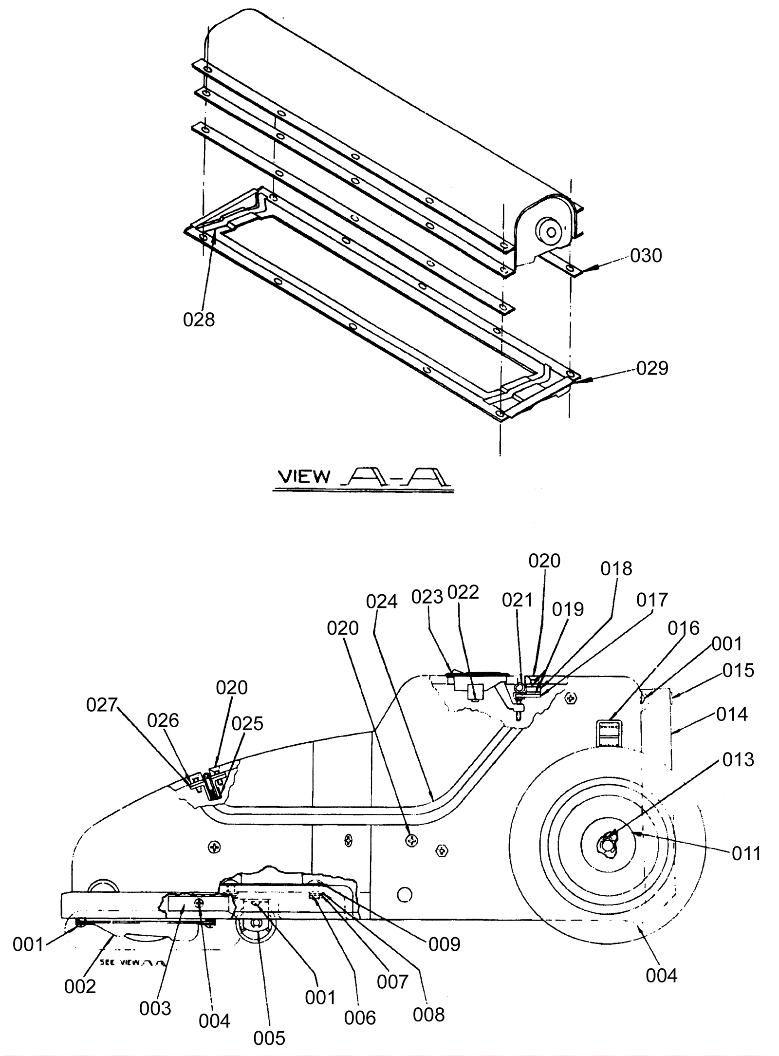
Side View
Click to enlarge