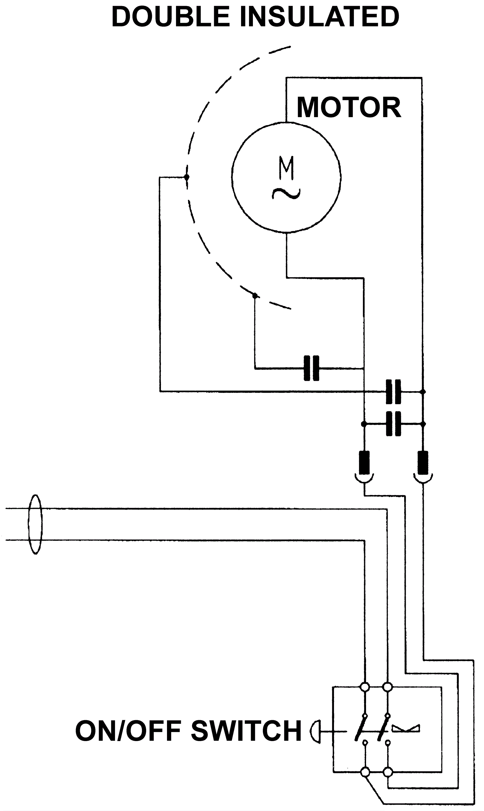
Wiring Diagram - Two Pole Switch
Click to enlarge