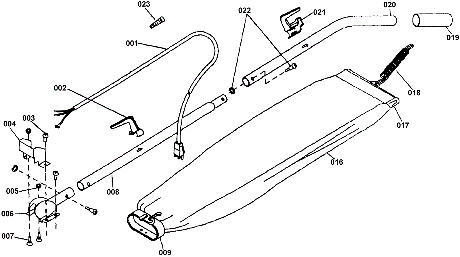
Bag and Handle Assembly
Click to enlarge