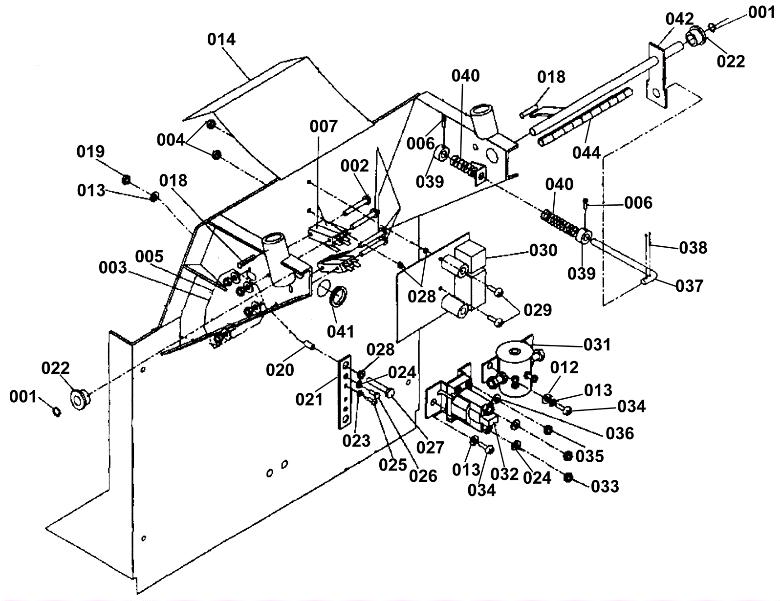
Back Panel Assembly