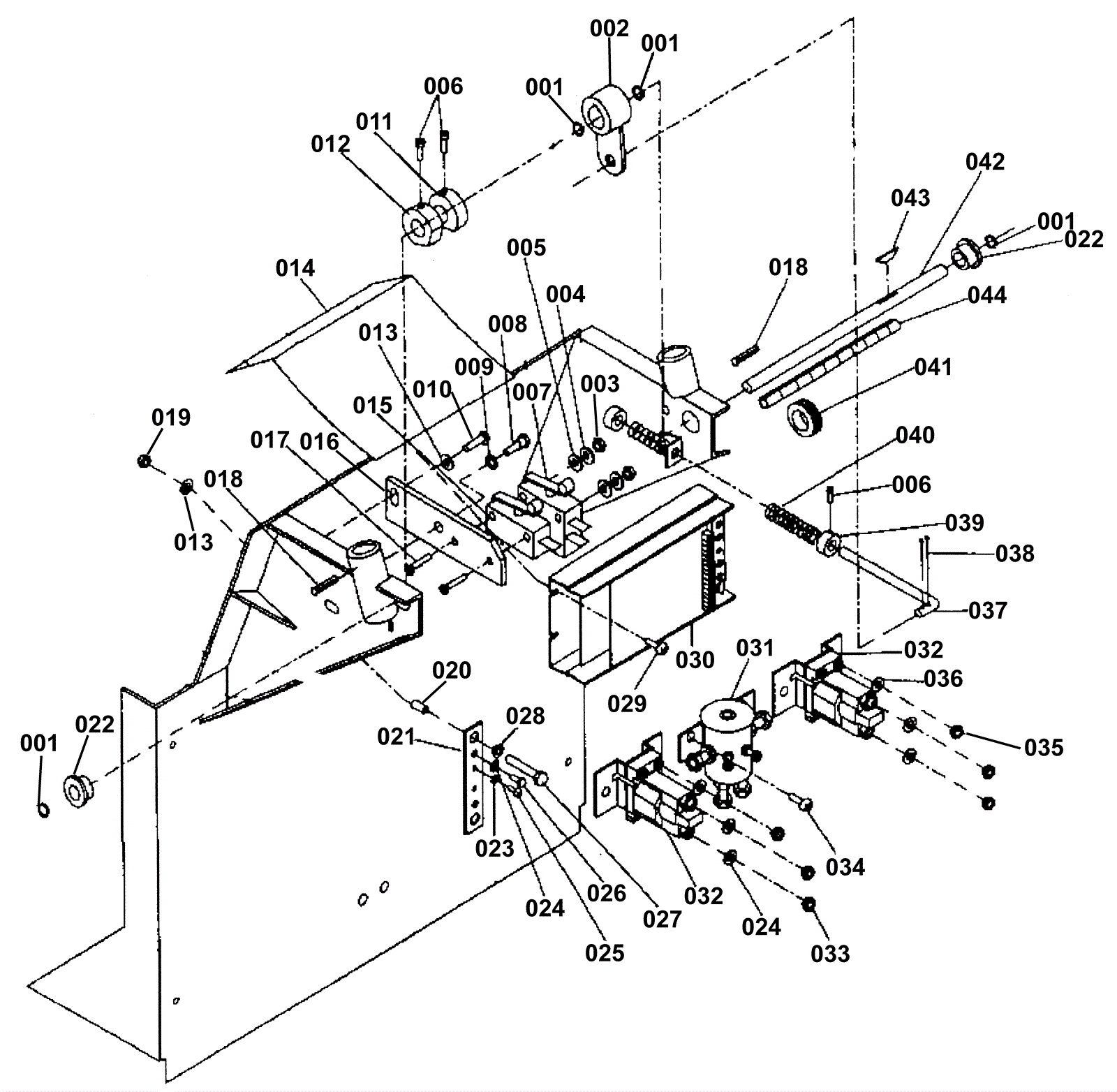
Back Panel Assembly
Click to enlarge