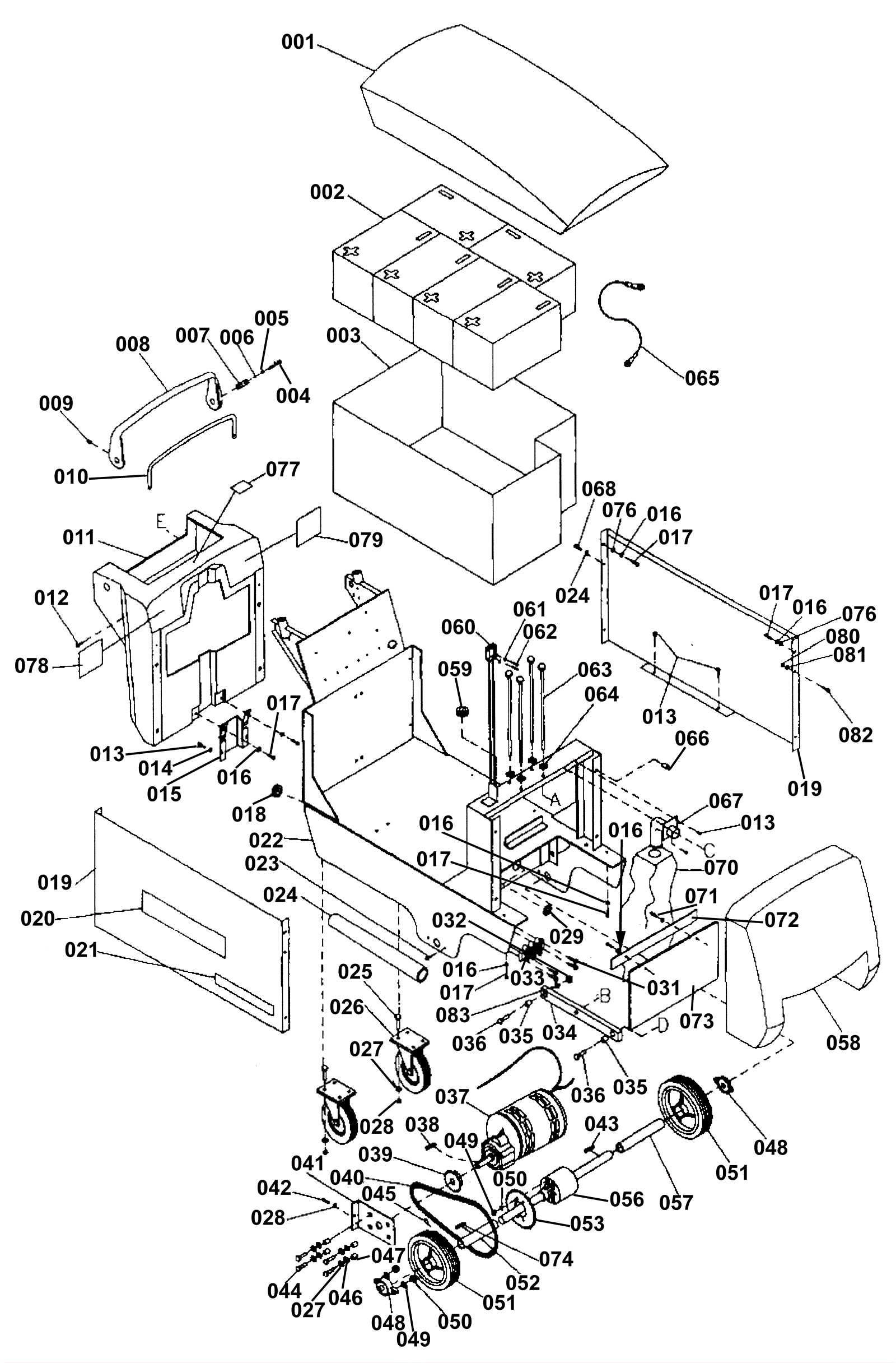
Frame Assembly
Click to enlarge