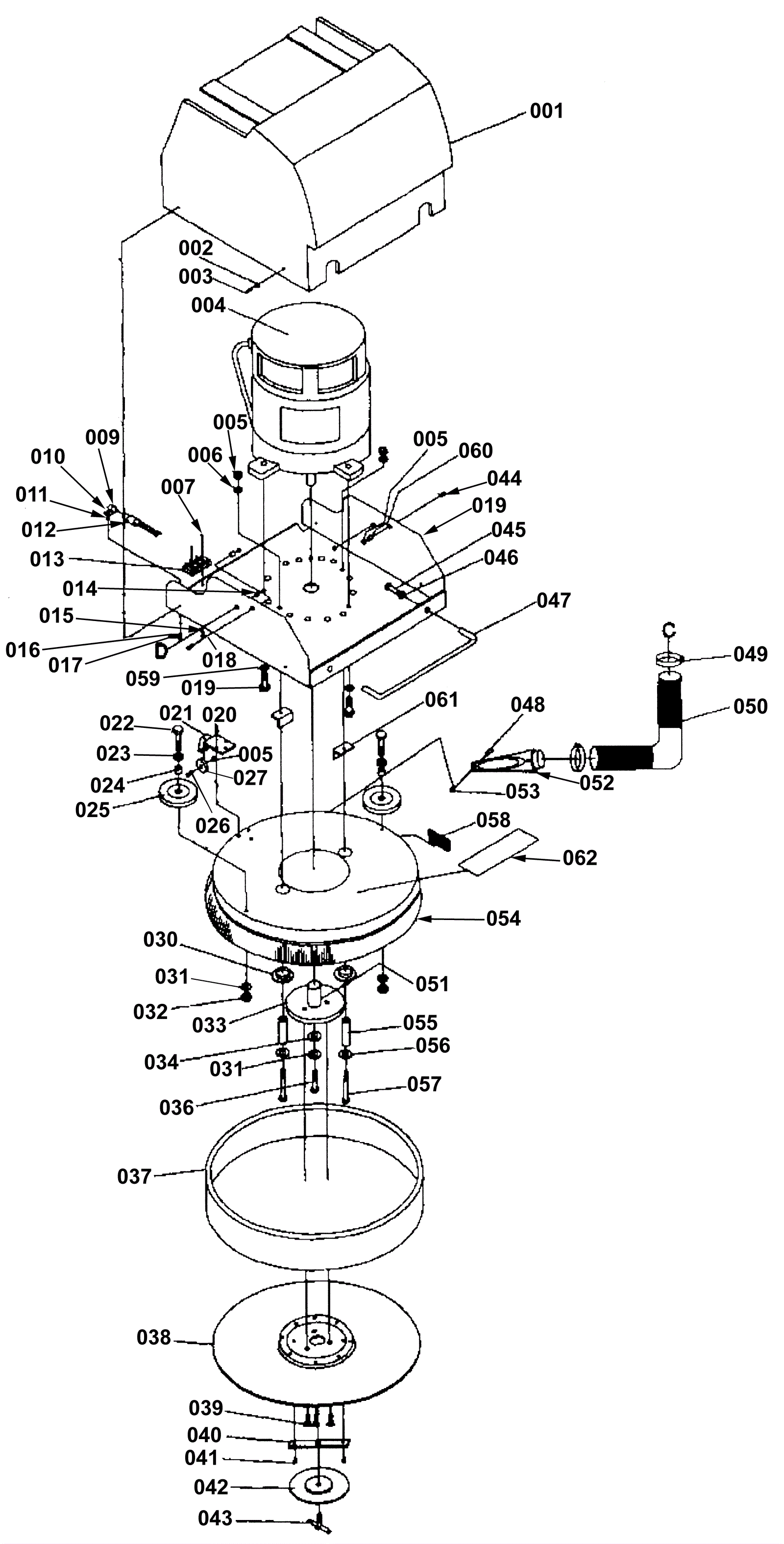
Pad Motor Assembly
Click to enlarge