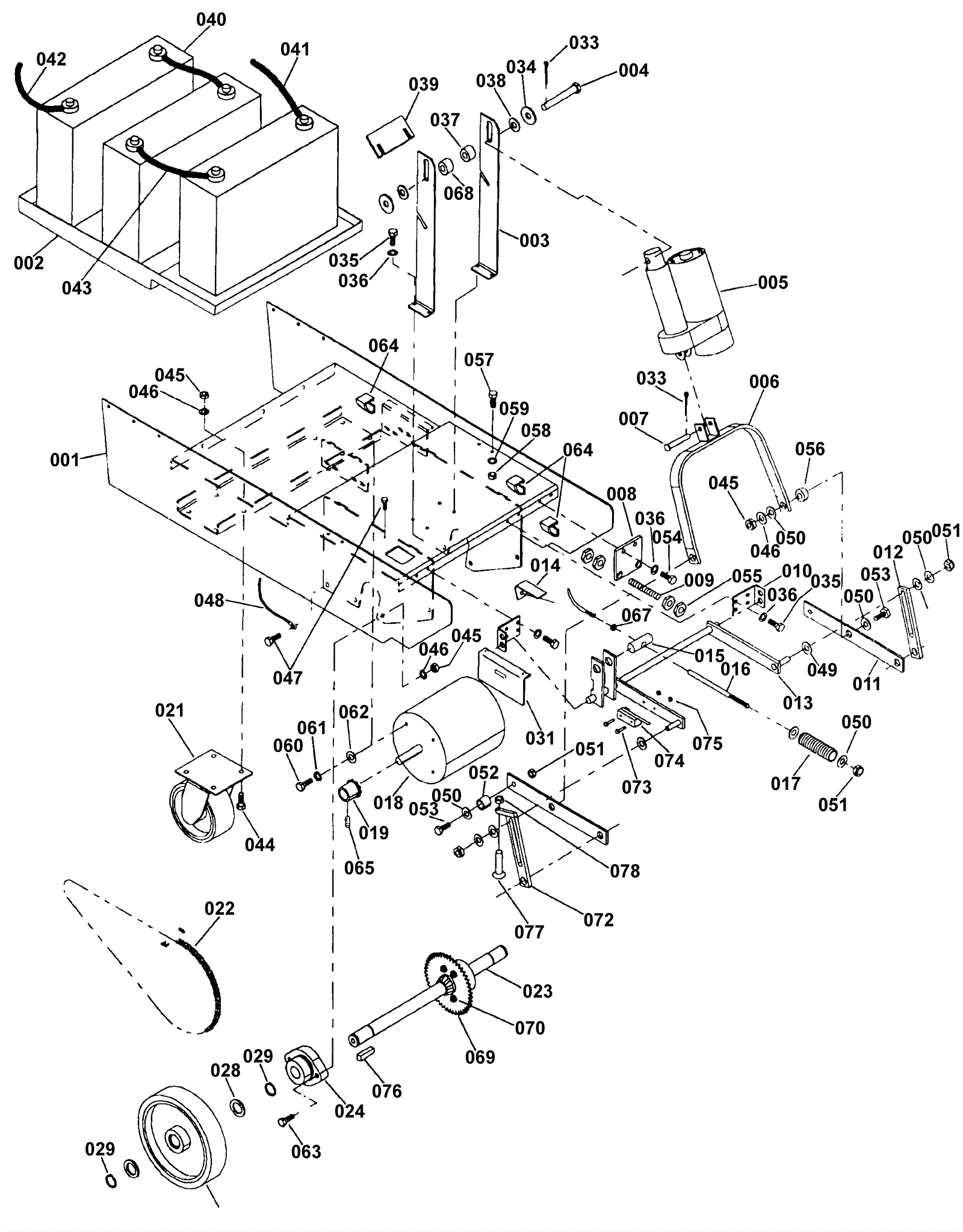
Lower Frame and Drive Assembly
Click to enlarge